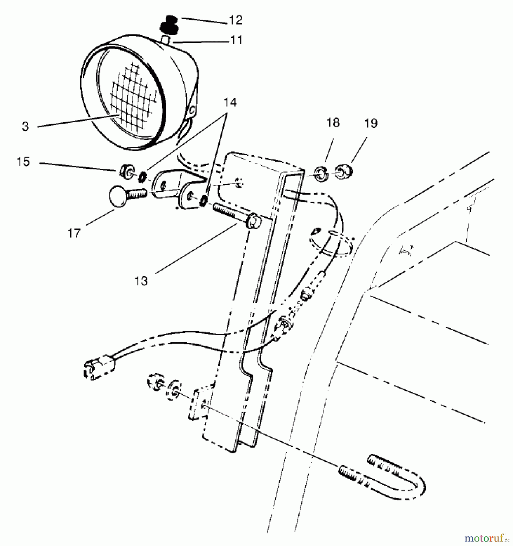
Toro 38087 (1332) - 1332 Power Shift Snowthrower, 2004 (240000001-240999999) HEADLAMP ASSEMBLY PART NO. 54-9871 Ersatzteile
HEADLAMP ASSEMBLY PART NO. 54-9871 38087 (1332) - Toro 1332 Power Shift Snowthrower, 2004 (240000001-240999999)

Hier finden Sie die Ersatzteilzeichnung für Toro Neu Snow Blowers/Snow Throwers Seite 1 38087 (1332) - Toro 1332 Power Shift Snowthrower, 2004 (240000001-240999999) HEADLAMP ASSEMBLY PART NO. 54-9871. Wählen Sie das benötigte Ersatzteil aus der Ersatzteilliste Ihres Toro Gerätes aus und bestellen Sie einfach online. Viele Toro Ersatzteile halten wir ständig in unserem Lager für Sie bereit.
| BildNr | Artikel Nummer | Bezeichnung | |
| 1 | TR54-9871 | HEADLAMP ASM | |
| 3 | TR218-16 | BEAM-SEALED | |
| 11 | TR218-553 | 110-6269 | |
| 12 | TR92-6033 | Schutzgummi | |
| 13 | TR322-11 | SCREW-HH | |
| 14 | TR3255-8 | Federring | |
| 15 | TR32128-29 | NUT-LOCK, FLANGE | |
| 17 | TR3231-22 | Schraube | |
| 18 | TR3253-21 | Federring | |
| 19 | TR3217-7 | Mutter | |



