Toro 37772 - Power Max 826 OE Snowthrower, 2013 (SN 313000001-313999999) GEARBOX, AUGER AND IMPELLER ASSEMBLY Ersatzteile
GEARBOX, AUGER AND IMPELLER ASSEMBLY 37772 - Toro Power Max 826 OE Snowthrower, 2013 (SN 313000001-313999999)

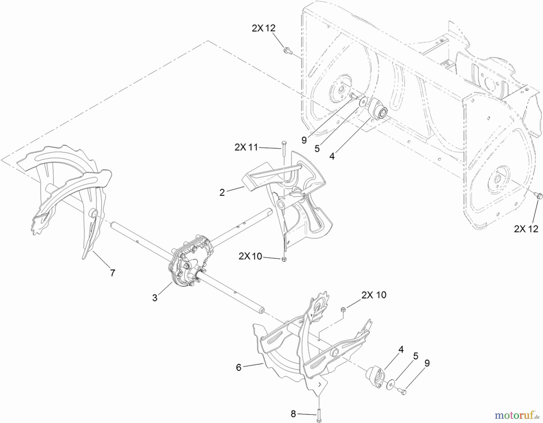
Hier finden Sie die Ersatzteilzeichnung für Toro Neu Snow Blowers/Snow Throwers Seite 1 37772 - Toro Power Max 826 OE Snowthrower, 2013 (SN 313000001-313999999) GEARBOX, AUGER AND IMPELLER ASSEMBLY. Wählen Sie das benötigte Ersatzteil aus der Ersatzteilliste Ihres Toro Gerätes aus und bestellen Sie einfach online. Viele Toro Ersatzteile halten wir ständig in unserem Lager für Sie bereit.
| BildNr | Artikel Nummer | Bezeichnung | |
| 2 | TR119-7612-03 | IMPELLER ASM | |
| 3 | TR119-7641 | GEARCASE ASM | |
| 4 | TR120-3860 | BEARING-AUGER | |
| 5 | TR120-3862 | WASHER-THRUST | |
| 6 | TR120-9287-03 | LH AUGER ASM | |
| 7 | TR120-9290-03 | RH AUGER ASM | |
| 8 | TR3214-3 | SCHRAUBE | |
| 9 | TR322-3 | Schraube | |
| 10 | ![]() | TR3296-42 | Mutter |
| 11 | TR321-10 | Schraube | |
| 12 | TR32144-70 | Schraube | |




