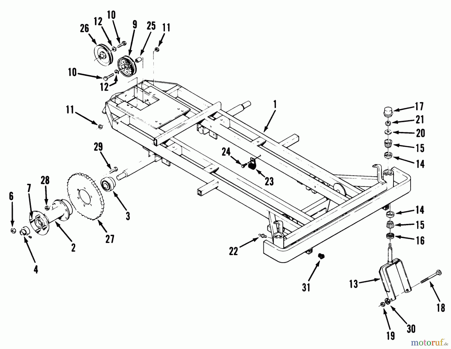
Toro Z1-24OE03 (724-Z) - 724-Z Tractor, 1990 FRAME, REAR HUB AND FRONT WHEEL FORK Ersatzteile
FRAME, REAR HUB AND FRONT WHEEL FORK Z1-24OE03 (724-Z) - Toro 724-Z Tractor, 1990

Hier finden Sie die Ersatzteilzeichnung für Toro Neu Mowers, Zero-Turn Z1-24OE03 (724-Z) - Toro 724-Z Tractor, 1990 FRAME, REAR HUB AND FRONT WHEEL FORK. Wählen Sie das benötigte Ersatzteil aus der Ersatzteilliste Ihres Toro Gerätes aus und bestellen Sie einfach online. Viele Toro Ersatzteile halten wir ständig in unserem Lager für Sie bereit.



