Toro Z1-18KE01 (718-Z) - 718-Z Tractor, 1986 MOWER HEIGHT CONTROL Ersatzteile
MOWER HEIGHT CONTROL Z1-18KE01 (718-Z) - Toro 718-Z Tractor, 1986

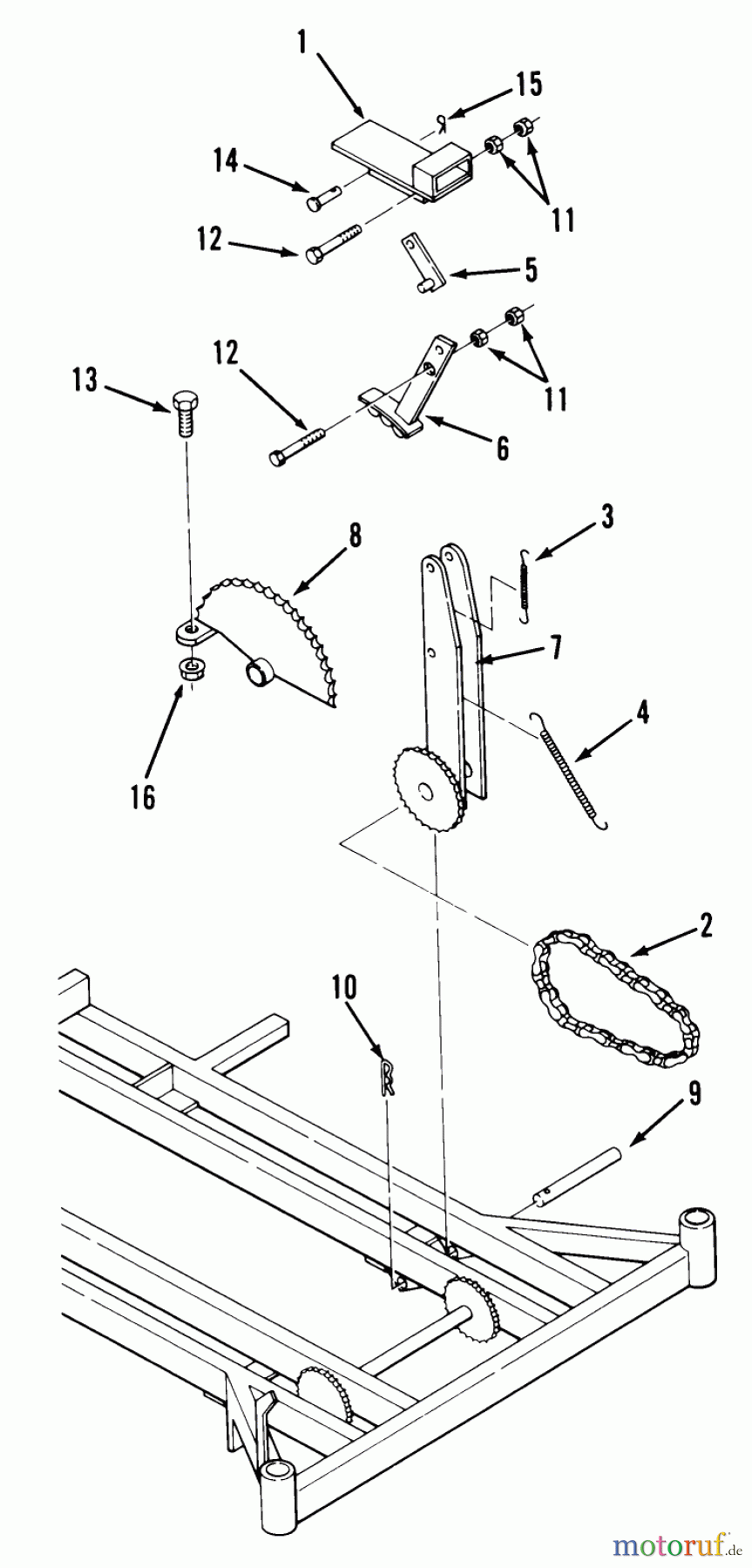
Hier finden Sie die Ersatzteilzeichnung für Toro Neu Mowers, Zero-Turn Z1-18KE01 (718-Z) - Toro 718-Z Tractor, 1986 MOWER HEIGHT CONTROL. Wählen Sie das benötigte Ersatzteil aus der Ersatzteilliste Ihres Toro Gerätes aus und bestellen Sie einfach online. Viele Toro Ersatzteile halten wir ständig in unserem Lager für Sie bereit.
| BildNr | Artikel Nummer | Bezeichnung | |
| 1 | TR10218 | DISCONTINUED | |
| 2 | TR10219 | 115855 | |
| 3 | TR10221 | DISCONTINUED | |
| 4 | TR114183 | SPRING - EXTENSION | |
| 5 | TR10223 | DUP PART SEE $BOOK | |
| 6 | TR10224 | KLEBESCHILD | |
| 7 | TR10225 | DISCONTINUED | |
| 8 | TR10226 | DISCONTINUED | |
| 9 | TR10228 | 113149 | |
| 10 | TR9335124 | PIN-HAIR | |
| 11 | TR915112 | MUTTER (10) | |
| 12 | TRB105 | DISCONTINUED | |
| 13 | TR908019 | 322-5 | |
| 14 | TRP101 | 283-61 | |
| 15 | TR112444 | HAIRPIN | |
| 16 | TR960010 | 3217-6 | |



