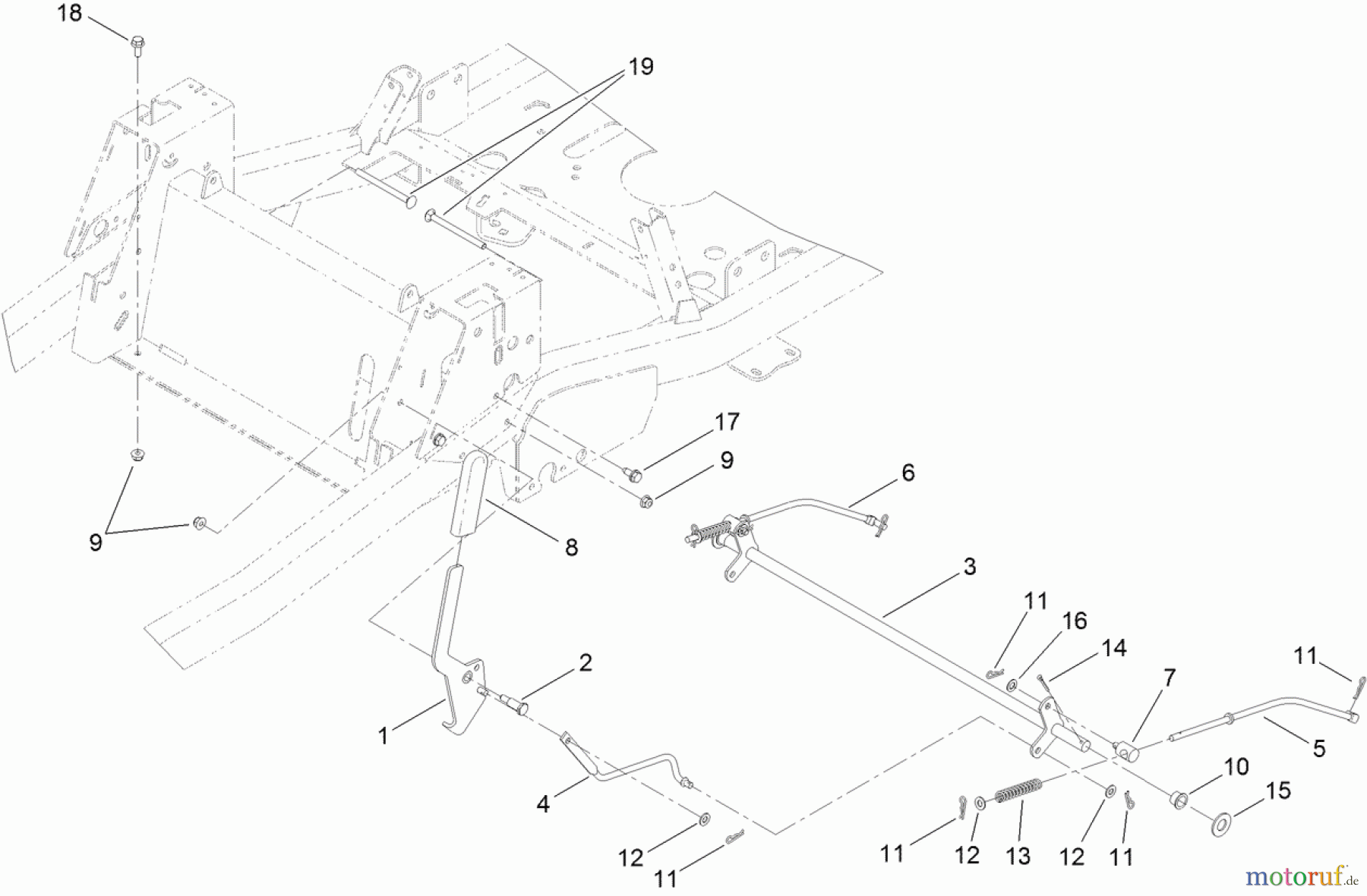
Toro 74873 (MX6080) - TITAN MX6080 Zero-Turn-Radius Riding Mower, 2012 (SN 312000001-312999999) BRAKE LINK ASSEMBLY Ersatzteile
BRAKE LINK ASSEMBLY 74873 (MX6080) - Toro TITAN MX6080 Zero-Turn-Radius Riding Mower, 2012 (SN 312000001-312999999)

Hier finden Sie die Ersatzteilzeichnung für Toro Neu Mowers, Zero-Turn 74873 (MX6080) - Toro TITAN MX6080 Zero-Turn-Radius Riding Mower, 2012 (SN 312000001-312999999) BRAKE LINK ASSEMBLY. Wählen Sie das benötigte Ersatzteil aus der Ersatzteilliste Ihres Toro Gerätes aus und bestellen Sie einfach online. Viele Toro Ersatzteile halten wir ständig in unserem Lager für Sie bereit.




