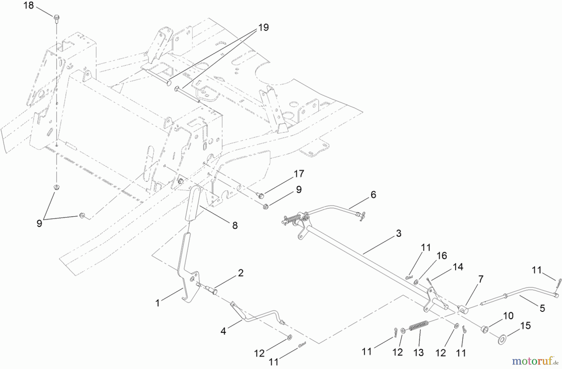
Toro 74871 (MX4880) - TITAN MX4880 Zero-Turn-Radius Riding Mower, 2011 (311000001-311999999) BRAKE LINK ASSEMBLY Ersatzteile
BRAKE LINK ASSEMBLY 74871 (MX4880) - Toro TITAN MX4880 Zero-Turn-Radius Riding Mower, 2011 (311000001-311999999)

Hier finden Sie die Ersatzteilzeichnung für Toro Neu Mowers, Zero-Turn 74871 (MX4880) - Toro TITAN MX4880 Zero-Turn-Radius Riding Mower, 2011 (311000001-311999999) BRAKE LINK ASSEMBLY. Wählen Sie das benötigte Ersatzteil aus der Ersatzteilliste Ihres Toro Gerätes aus und bestellen Sie einfach online. Viele Toro Ersatzteile halten wir ständig in unserem Lager für Sie bereit.


Qualitätsmanagement
Informieren Sie uns, wenn Sie einen Fehler gefunden haben.


