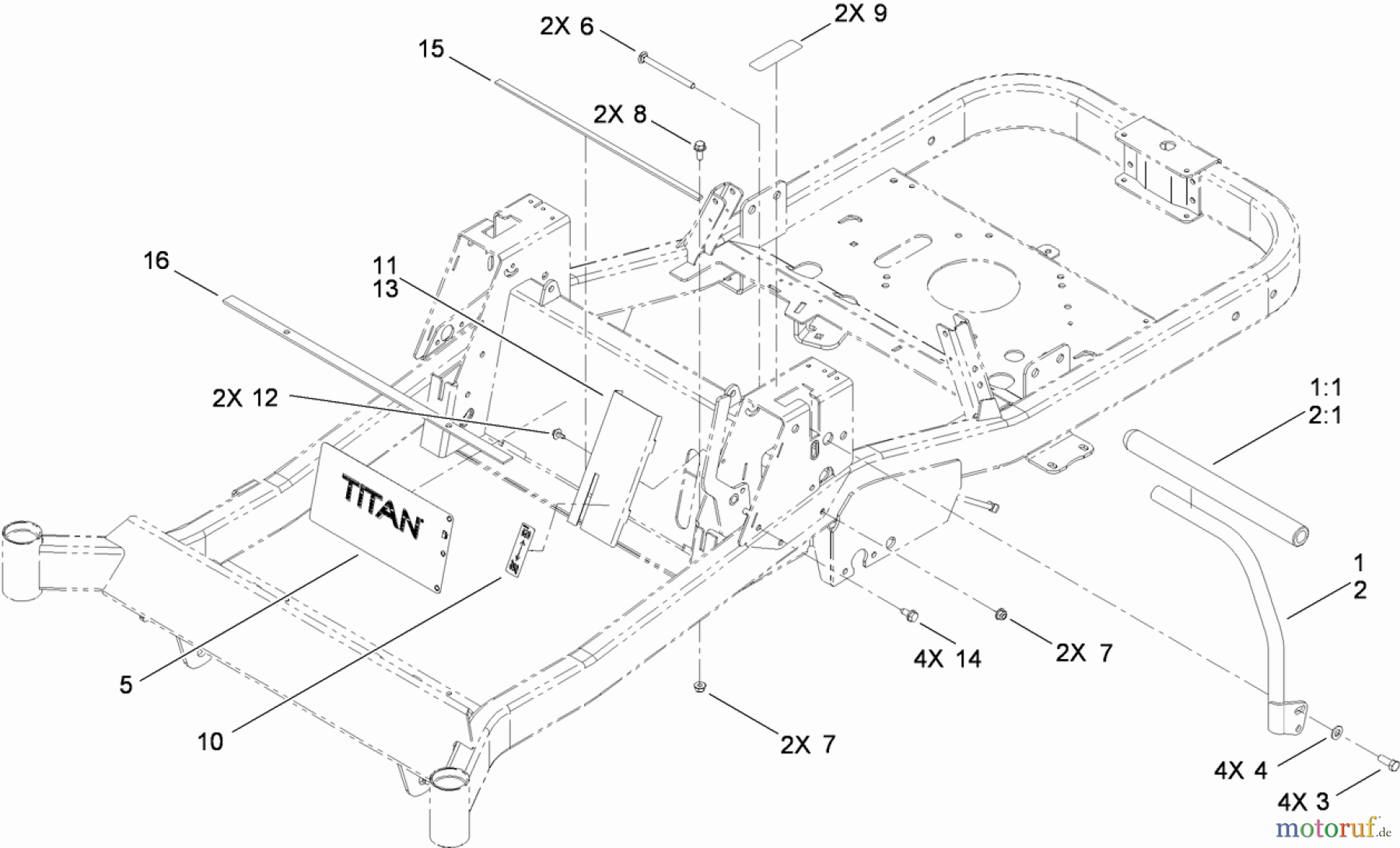
Toro 74833 (ZX6030) - TITAN ZX6030 Zero-Turn-Radius Riding Mower, 2010 (310000001-310999999) HANDLE CONTROL ASSEMBLY Ersatzteile
HANDLE CONTROL ASSEMBLY 74833 (ZX6030) - Toro TITAN ZX6030 Zero-Turn-Radius Riding Mower, 2010 (310000001-310999999)

Hier finden Sie die Ersatzteilzeichnung für Toro Neu Mowers, Zero-Turn 74833 (ZX6030) - Toro TITAN ZX6030 Zero-Turn-Radius Riding Mower, 2010 (310000001-310999999) HANDLE CONTROL ASSEMBLY. Wählen Sie das benötigte Ersatzteil aus der Ersatzteilliste Ihres Toro Gerätes aus und bestellen Sie einfach online. Viele Toro Ersatzteile halten wir ständig in unserem Lager für Sie bereit.




