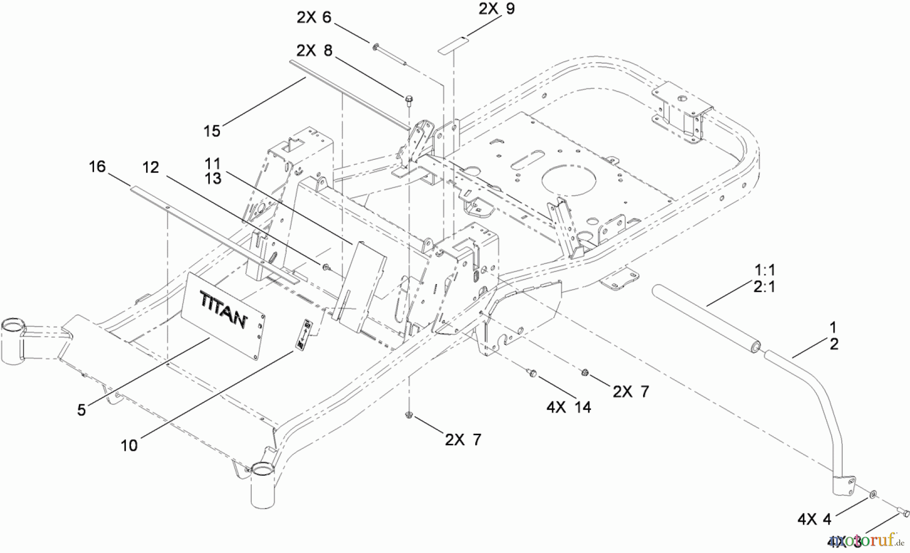
Toro 74824 (ZX6050) - TITAN ZX6050 Zero-Turn-Radius Riding Mower, 2009 (290000001-290999999) CONTROL ASSEMBLY Ersatzteile
CONTROL ASSEMBLY 74824 (ZX6050) - Toro TITAN ZX6050 Zero-Turn-Radius Riding Mower, 2009 (290000001-290999999)

Hier finden Sie die Ersatzteilzeichnung für Toro Neu Mowers, Zero-Turn 74824 (ZX6050) - Toro TITAN ZX6050 Zero-Turn-Radius Riding Mower, 2009 (290000001-290999999) CONTROL ASSEMBLY. Wählen Sie das benötigte Ersatzteil aus der Ersatzteilliste Ihres Toro Gerätes aus und bestellen Sie einfach online. Viele Toro Ersatzteile halten wir ständig in unserem Lager für Sie bereit.




