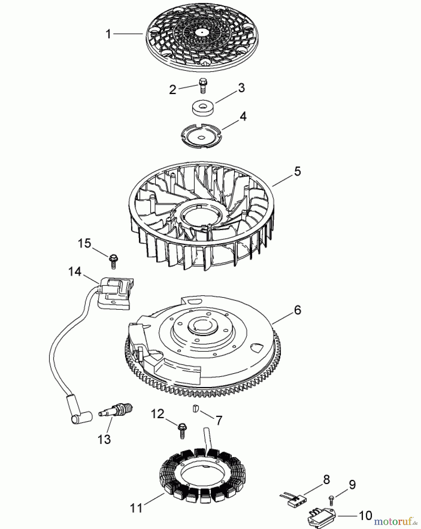
Toro 74818 (Z5200) - TITAN Z5200 Zero-Turn-Radius Riding Mower, 2008 (280000001-280999999) IGNITION AND ELECTRICAL ASSEMBLY KOHLER SV830-0014 Ersatzteile
IGNITION AND ELECTRICAL ASSEMBLY KOHLER SV830-0014 74818 (Z5200) - Toro TITAN Z5200 Zero-Turn-Radius Riding Mower, 2008 (280000001-280999999)

Hier finden Sie die Ersatzteilzeichnung für Toro Neu Mowers, Zero-Turn 74818 (Z5200) - Toro TITAN Z5200 Zero-Turn-Radius Riding Mower, 2008 (280000001-280999999) IGNITION AND ELECTRICAL ASSEMBLY KOHLER SV830-0014. Wählen Sie das benötigte Ersatzteil aus der Ersatzteilliste Ihres Toro Gerätes aus und bestellen Sie einfach online. Viele Toro Ersatzteile halten wir ständig in unserem Lager für Sie bereit.


Qualitätsmanagement
Informieren Sie uns, wenn Sie einen Fehler gefunden haben.

