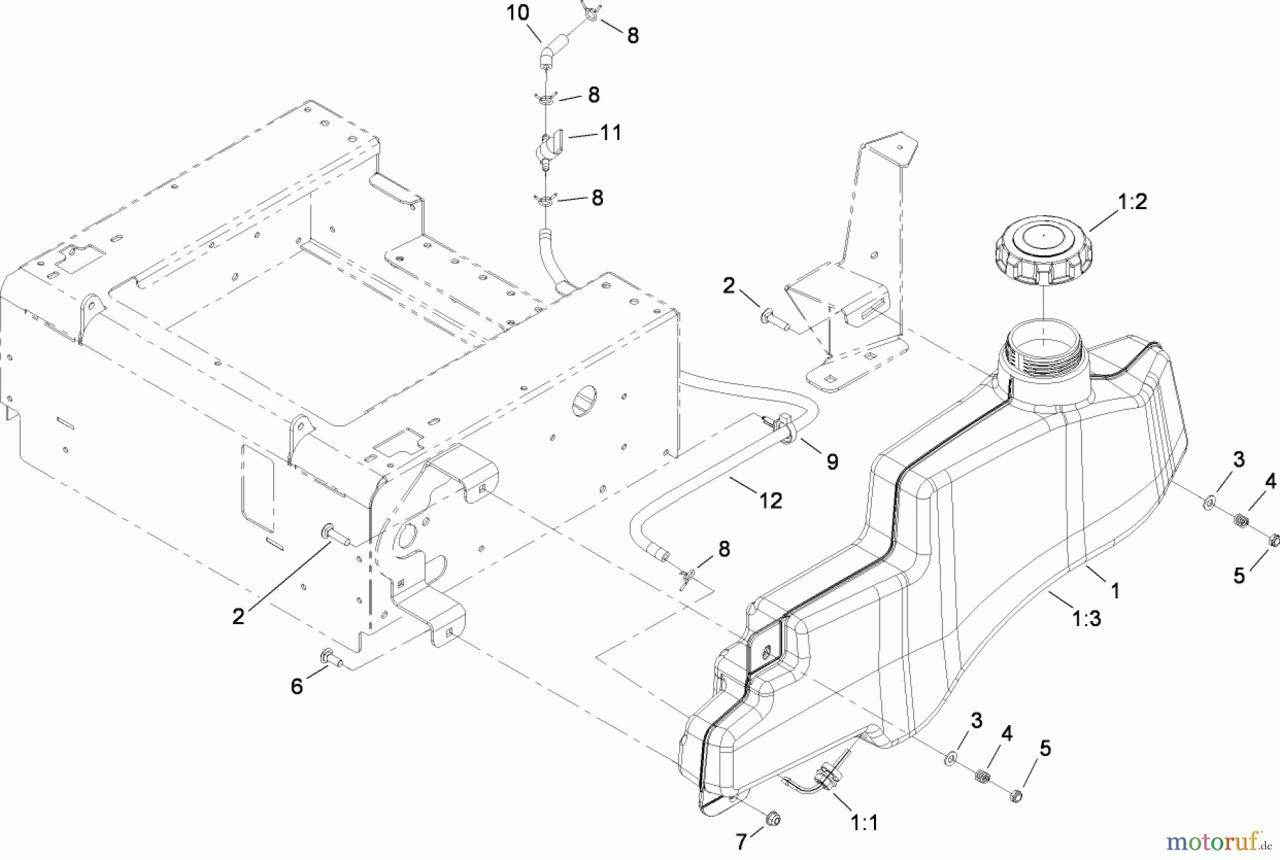
Toro 74816 (Z4800) - TITAN Z4800 Zero-Turn-Radius Riding Mower, 2008 (280000001-280999999) FUEL TANK ASSEMBLY Ersatzteile
FUEL TANK ASSEMBLY 74816 (Z4800) - Toro TITAN Z4800 Zero-Turn-Radius Riding Mower, 2008 (280000001-280999999)

Hier finden Sie die Ersatzteilzeichnung für Toro Neu Mowers, Zero-Turn 74816 (Z4800) - Toro TITAN Z4800 Zero-Turn-Radius Riding Mower, 2008 (280000001-280999999) FUEL TANK ASSEMBLY. Wählen Sie das benötigte Ersatzteil aus der Ersatzteilliste Ihres Toro Gerätes aus und bestellen Sie einfach online. Viele Toro Ersatzteile halten wir ständig in unserem Lager für Sie bereit.



