Toro 74802 (19-52ZX) - 19-52ZX TimeCutter ZX Riding Mower, 2004 (240000159-240999999) ENGINE AND CLUTCH ASSEMBLY Ersatzteile
ENGINE AND CLUTCH ASSEMBLY 74802 (19-52ZX) - Toro 19-52ZX TimeCutter ZX Riding Mower, 2004 (240000159-240999999)

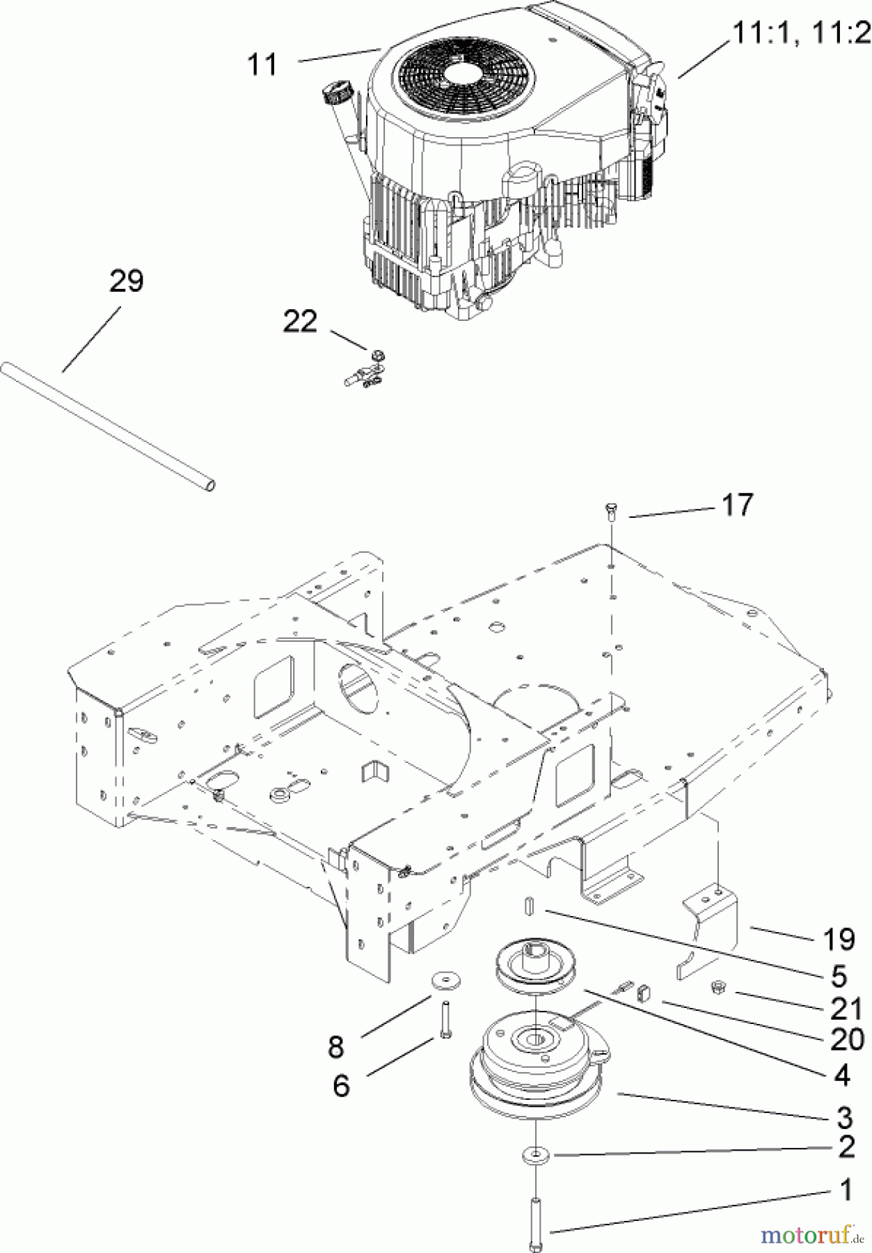
Hier finden Sie die Ersatzteilzeichnung für Toro Neu Mowers, Zero-Turn 74802 (19-52ZX) - Toro 19-52ZX TimeCutter ZX Riding Mower, 2004 (240000159-240999999) ENGINE AND CLUTCH ASSEMBLY. Wählen Sie das benötigte Ersatzteil aus der Ersatzteilliste Ihres Toro Gerätes aus und bestellen Sie einfach online. Viele Toro Ersatzteile halten wir ständig in unserem Lager für Sie bereit.
| BildNr | Artikel Nummer | Bezeichnung | |
| 1 | TR32121-2 | Spannstift | |
| 2 | TR112843 | WASHER | |
| 3 | TR104-3624 | CLUTCH | |
| 4 | TR100-7314 | Riemenscheibe | |
| 5 | TR5-7280 | KEY | |
| 6 | TR322-7 | Schraube | |
| 8 | TR62-7190 | Distanzscheibe | |
| 11 | TR | ||
| 11:1 | TR100-6467 | DISCONTINUED | |
| 11:2 | TR100-6468 | CLAMP-MUFFLER | |
| 17 | TR323-4 | Schraube | |
| 19 | TR104-3613-03 | STOP-CLUTCH | |
| 20 | TR98-5023 | Gummipuffer | |
| 21 | TR32128-21 | Mutter | |
| 22 | TR32128-25 | NUT-HF | |
| 29 | TR106-7022 | TUBE-DRAIN, OIL | |


Qualitätsmanagement
Informieren Sie uns, wenn Sie einen Fehler gefunden haben.

