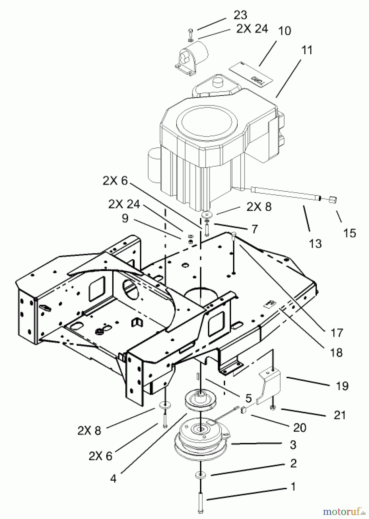
Toro 74701 (17-52ZX) - 17-52ZX TimeCutter ZX Riding Mower, 2003 (230000001-230999999) ENGINE AND CLUTCH ASSEMBLY Ersatzteile
ENGINE AND CLUTCH ASSEMBLY 74701 (17-52ZX) - Toro 17-52ZX TimeCutter ZX Riding Mower, 2003 (230000001-230999999)

Hier finden Sie die Ersatzteilzeichnung für Toro Neu Mowers, Zero-Turn 74701 (17-52ZX) - Toro 17-52ZX TimeCutter ZX Riding Mower, 2003 (230000001-230999999) ENGINE AND CLUTCH ASSEMBLY. Wählen Sie das benötigte Ersatzteil aus der Ersatzteilliste Ihres Toro Gerätes aus und bestellen Sie einfach online. Viele Toro Ersatzteile halten wir ständig in unserem Lager für Sie bereit.




