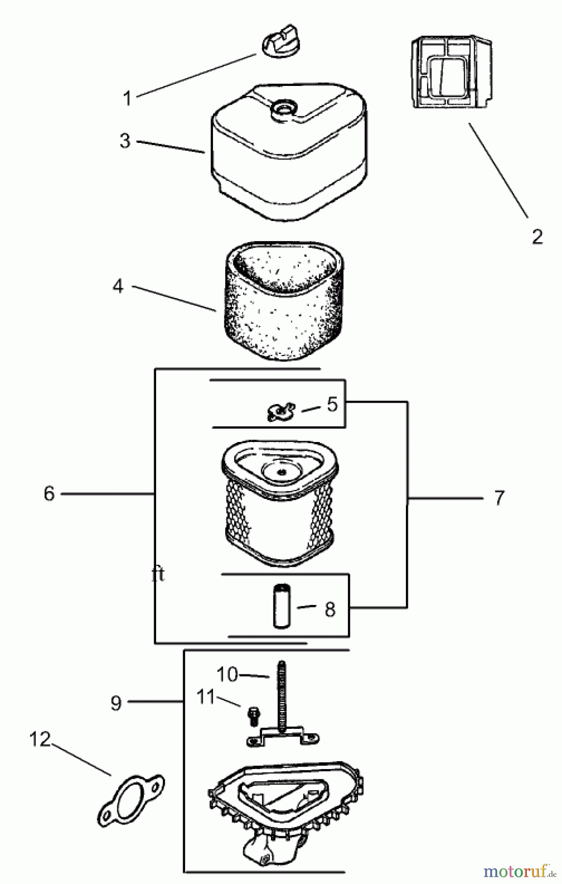
Toro 74701 (17-52ZX) - 17-52ZX TimeCutter ZX Riding Mower, 2003 (230000001-230999999) AIR INTAKE/FILTRATION ASSEMBLY KOHLER CV 490S-27503 Ersatzteile
AIR INTAKE/FILTRATION ASSEMBLY KOHLER CV 490S-27503 74701 (17-52ZX) - Toro 17-52ZX TimeCutter ZX Riding Mower, 2003 (230000001-230999999)

Hier finden Sie die Ersatzteilzeichnung für Toro Neu Mowers, Zero-Turn 74701 (17-52ZX) - Toro 17-52ZX TimeCutter ZX Riding Mower, 2003 (230000001-230999999) AIR INTAKE/FILTRATION ASSEMBLY KOHLER CV 490S-27503. Wählen Sie das benötigte Ersatzteil aus der Ersatzteilliste Ihres Toro Gerätes aus und bestellen Sie einfach online. Viele Toro Ersatzteile halten wir ständig in unserem Lager für Sie bereit.


Qualitätsmanagement
Informieren Sie uns, wenn Sie einen Fehler gefunden haben.

