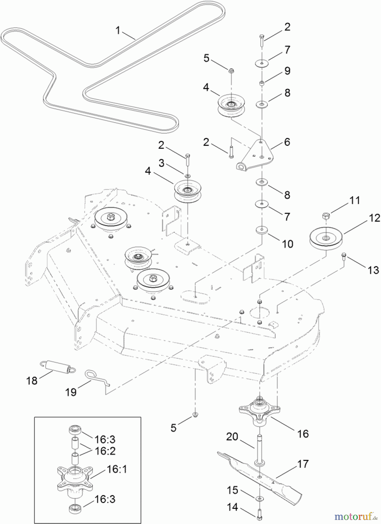
Toro 74641 (5060) - TimeCutter MX 5060 Riding Mower, 2012 (SN 312000001-312999999) 50 INCH DECK BELT, SPINDLE AND BLADE ASSEMBLY Ersatzteile
50 INCH DECK BELT, SPINDLE AND BLADE ASSEMBLY 74641 (5060) - Toro TimeCutter MX 5060 Riding Mower, 2012 (SN 312000001-312999999)

Hier finden Sie die Ersatzteilzeichnung für Toro Neu Mowers, Zero-Turn 74641 (5060) - Toro TimeCutter MX 5060 Riding Mower, 2012 (SN 312000001-312999999) 50 INCH DECK BELT, SPINDLE AND BLADE ASSEMBLY. Wählen Sie das benötigte Ersatzteil aus der Ersatzteilliste Ihres Toro Gerätes aus und bestellen Sie einfach online. Viele Toro Ersatzteile halten wir ständig in unserem Lager für Sie bereit.


Qualitätsmanagement
Informieren Sie uns, wenn Sie einen Fehler gefunden haben.






