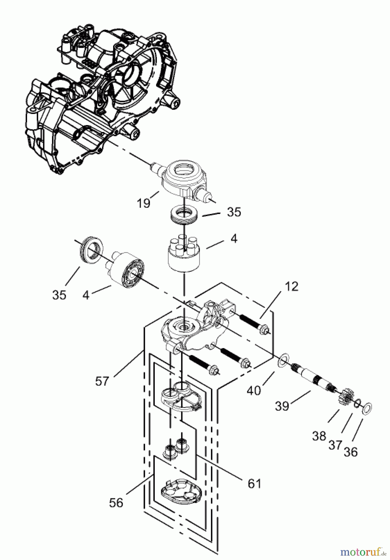
Toro 74402 (14-38Z) - 14-38Z TimeCutter Z Riding Mower, 2003 (230000001-230999999) CYLINDER BLOCK ASSEMBLY LH HYDROSTAT NO. 105-3492 Ersatzteile
CYLINDER BLOCK ASSEMBLY LH HYDROSTAT NO. 105-3492 74402 (14-38Z) - Toro 14-38Z TimeCutter Z Riding Mower, 2003 (230000001-230999999)

Hier finden Sie die Ersatzteilzeichnung für Toro Neu Mowers, Zero-Turn 74402 (14-38Z) - Toro 14-38Z TimeCutter Z Riding Mower, 2003 (230000001-230999999) CYLINDER BLOCK ASSEMBLY LH HYDROSTAT NO. 105-3492. Wählen Sie das benötigte Ersatzteil aus der Ersatzteilliste Ihres Toro Gerätes aus und bestellen Sie einfach online. Viele Toro Ersatzteile halten wir ständig in unserem Lager für Sie bereit.


