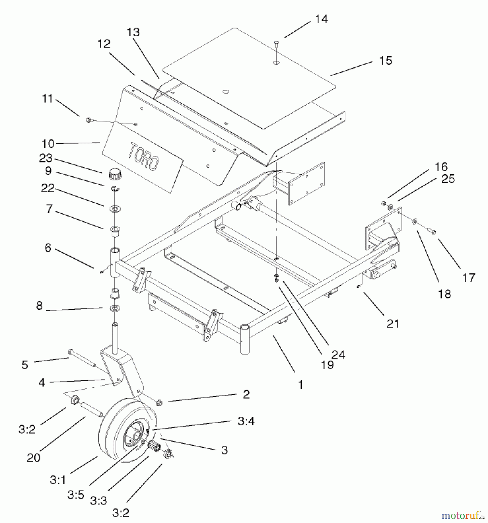
Toro 74401 (Z17-44) - Z17-44 TimeCutter Z Riding Mower, 2002 (220000001-220999999) FRONT FRAME ASSEMBLY Ersatzteile
FRONT FRAME ASSEMBLY 74401 (Z17-44) - Toro Z17-44 TimeCutter Z Riding Mower, 2002 (220000001-220999999)

Hier finden Sie die Ersatzteilzeichnung für Toro Neu Mowers, Zero-Turn 74401 (Z17-44) - Toro Z17-44 TimeCutter Z Riding Mower, 2002 (220000001-220999999) FRONT FRAME ASSEMBLY. Wählen Sie das benötigte Ersatzteil aus der Ersatzteilliste Ihres Toro Gerätes aus und bestellen Sie einfach online. Viele Toro Ersatzteile halten wir ständig in unserem Lager für Sie bereit.





