Toro 74380 (Z4200) - TimeCutter Z4200 Riding Mower, 2008 (280000001-280999999) IGNITION AND ELECTRICAL ASSEMBLY KOHLER SV590-0023 Ersatzteile
IGNITION AND ELECTRICAL ASSEMBLY KOHLER SV590-0023 74380 (Z4200) - Toro TimeCutter Z4200 Riding Mower, 2008 (280000001-280999999)

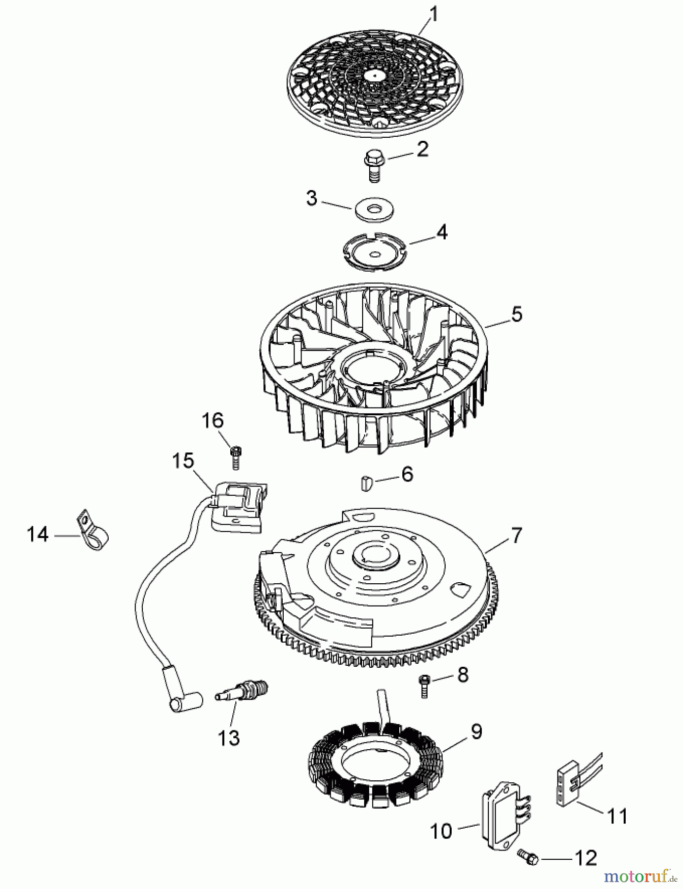
Hier finden Sie die Ersatzteilzeichnung für Toro Neu Mowers, Zero-Turn 74380 (Z4200) - Toro TimeCutter Z4200 Riding Mower, 2008 (280000001-280999999) IGNITION AND ELECTRICAL ASSEMBLY KOHLER SV590-0023. Wählen Sie das benötigte Ersatzteil aus der Ersatzteilliste Ihres Toro Gerätes aus und bestellen Sie einfach online. Viele Toro Ersatzteile halten wir ständig in unserem Lager für Sie bereit.


Qualitätsmanagement
Informieren Sie uns, wenn Sie einen Fehler gefunden haben.

