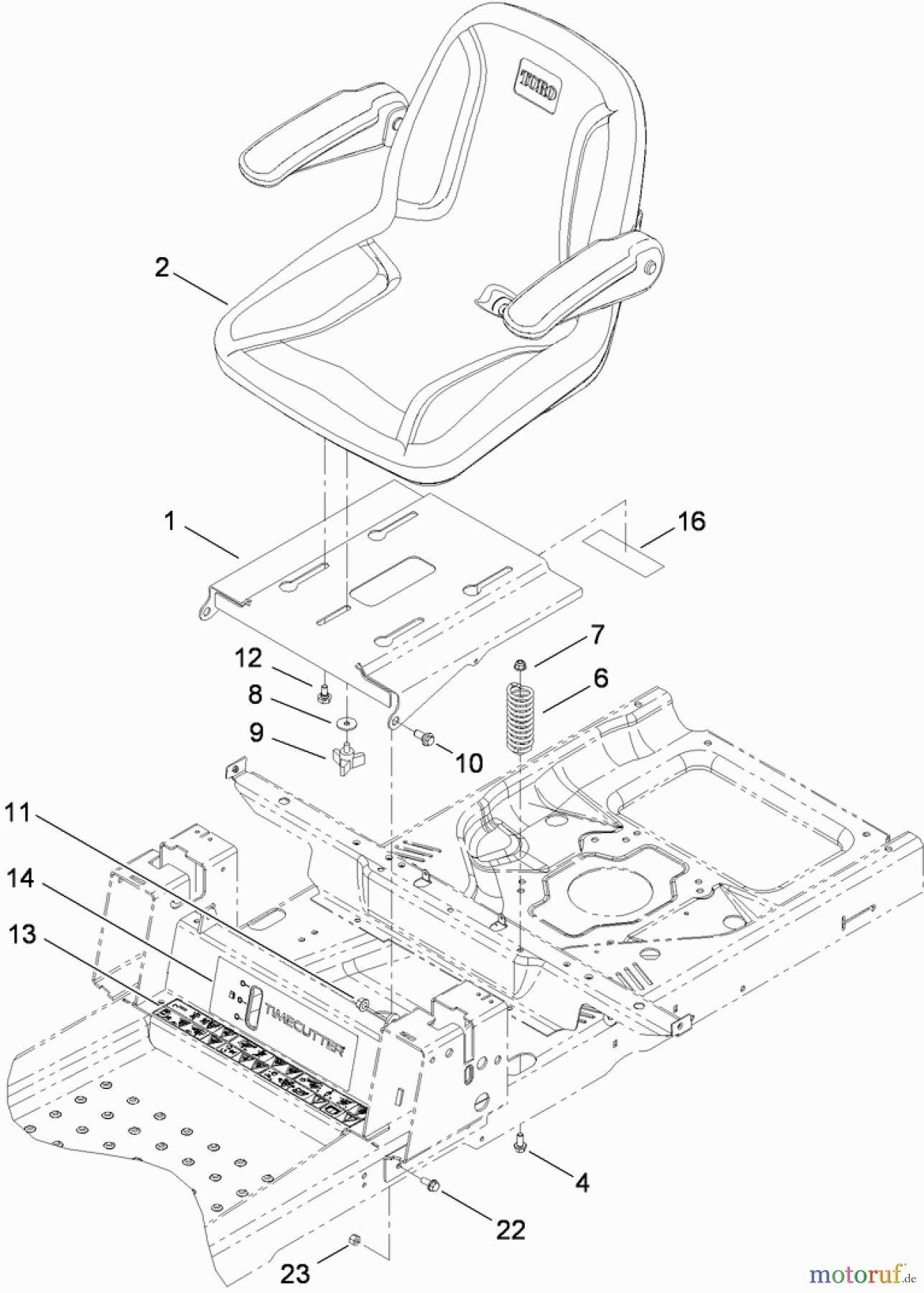
Toro 74375 (Z5060) - TimeCutter Z5060 Riding Mower, 2010 (310000001-310999999) SEAT ASSEMBLY Ersatzteile
SEAT ASSEMBLY 74375 (Z5060) - Toro TimeCutter Z5060 Riding Mower, 2010 (310000001-310999999)

Hier finden Sie die Ersatzteilzeichnung für Toro Neu Mowers, Zero-Turn 74375 (Z5060) - Toro TimeCutter Z5060 Riding Mower, 2010 (310000001-310999999) SEAT ASSEMBLY. Wählen Sie das benötigte Ersatzteil aus der Ersatzteilliste Ihres Toro Gerätes aus und bestellen Sie einfach online. Viele Toro Ersatzteile halten wir ständig in unserem Lager für Sie bereit.





