Toro 74330 (16-42Z) - 16-42Z TimeCutter Z Riding Mower, 2003 (230000001-230999999) CYLINDER BLOCK ASSEMBLY RH HYDROSTAT NO. 105-3491 Ersatzteile
CYLINDER BLOCK ASSEMBLY RH HYDROSTAT NO. 105-3491 74330 (16-42Z) - Toro 16-42Z TimeCutter Z Riding Mower, 2003 (230000001-230999999)

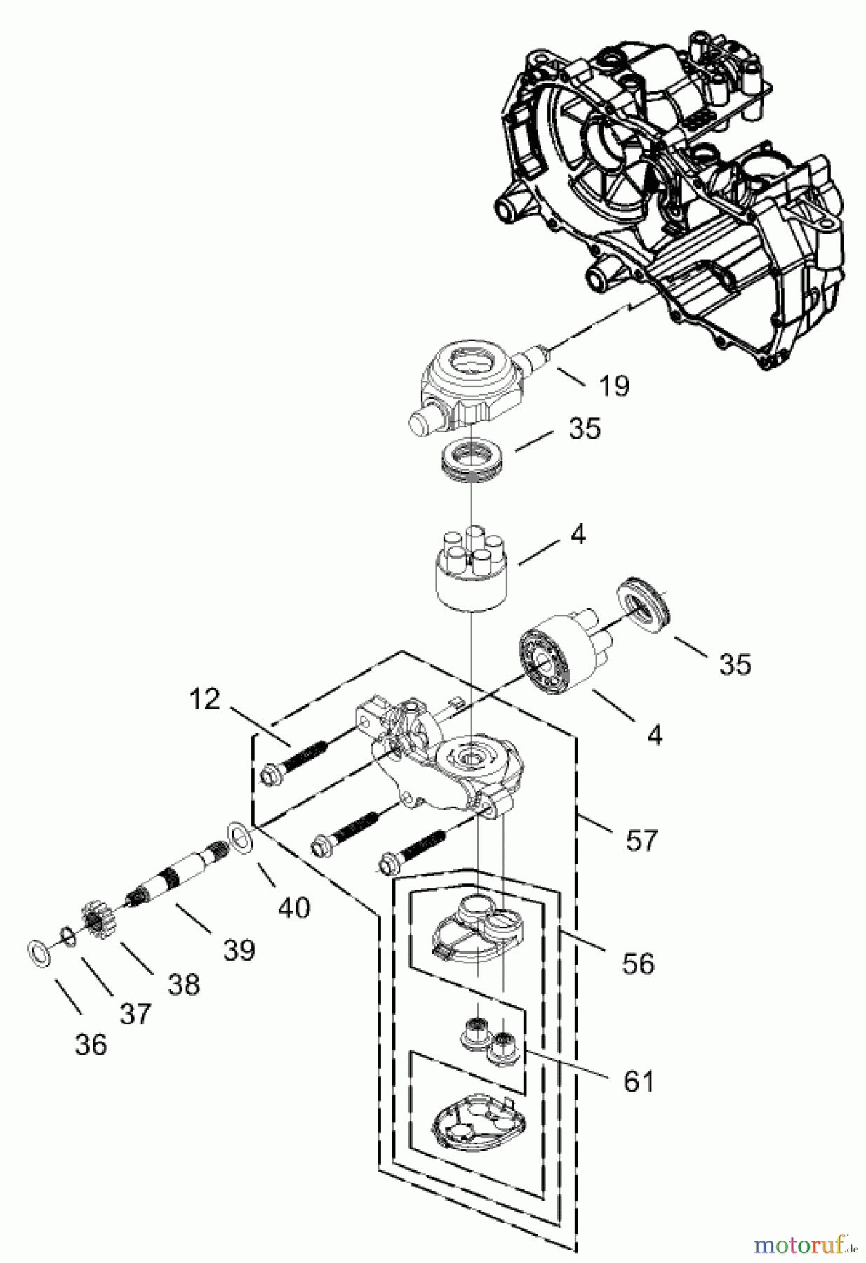
Hier finden Sie die Ersatzteilzeichnung für Toro Neu Mowers, Zero-Turn 74330 (16-42Z) - Toro 16-42Z TimeCutter Z Riding Mower, 2003 (230000001-230999999) CYLINDER BLOCK ASSEMBLY RH HYDROSTAT NO. 105-3491. Wählen Sie das benötigte Ersatzteil aus der Ersatzteilliste Ihres Toro Gerätes aus und bestellen Sie einfach online. Viele Toro Ersatzteile halten wir ständig in unserem Lager für Sie bereit.
| BildNr | Artikel Nummer | Bezeichnung | |
| 4 | TR103-2666 | CYLINDER BLOCK KIT | |
| 12 | TR94-6926 | BOLZEN | |
| 19 | TR104-5304 | SWASHPLATE-TRUNNION | |
| 35 | TR94-6922 | BEARING-THRUST | |
| 36 | TR104-5339 | SCHEIBE | |
| 37 | TR104-5340 | RING-RETAINING | |
| 38 | TR104-5316 | ZAHNRAD | |
| 39 | TR106-8683 | SHAFT-MOTOR | |
| 40 | TR104-5360 | WASHER | |
| 56 | TR106-8689 | ||
| 57 | TR106-8690 | LH CENTER SECTION FILTER KIT | |
| 61 | TR106-8693 | FILTER KIT | |


Qualitätsmanagement
Informieren Sie uns, wenn Sie einen Fehler gefunden haben.

