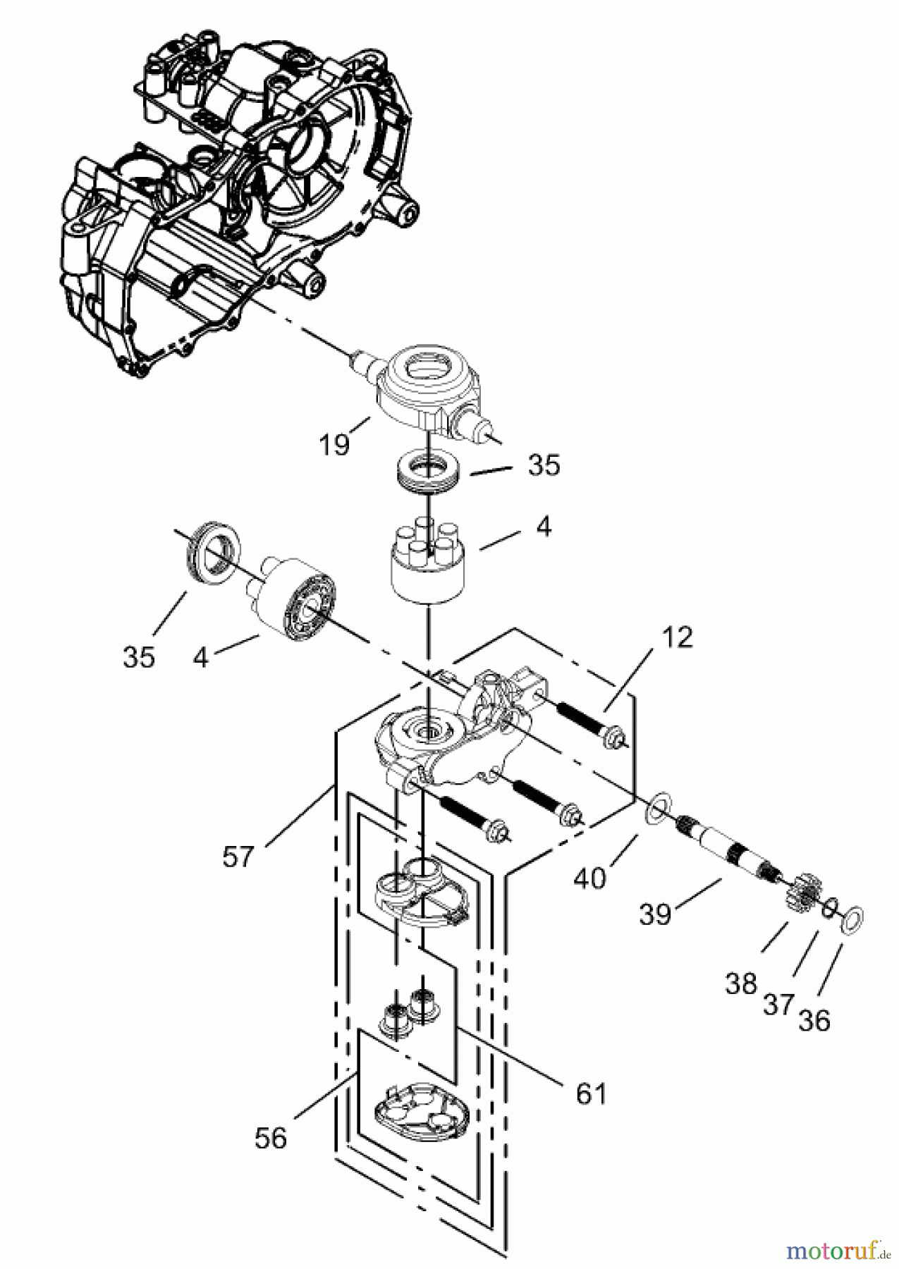
Toro 74301 (14-38Z) - 14-38Z TimeCutter Z Riding Mower, 2003 (230000001-230999999) CYLINDER BLOCK ASSEMBLY LH HYDROSTAT NO. 105-3492 Ersatzteile
CYLINDER BLOCK ASSEMBLY LH HYDROSTAT NO. 105-3492 74301 (14-38Z) - Toro 14-38Z TimeCutter Z Riding Mower, 2003 (230000001-230999999)

Hier finden Sie die Ersatzteilzeichnung für Toro Neu Mowers, Zero-Turn 74301 (14-38Z) - Toro 14-38Z TimeCutter Z Riding Mower, 2003 (230000001-230999999) CYLINDER BLOCK ASSEMBLY LH HYDROSTAT NO. 105-3492. Wählen Sie das benötigte Ersatzteil aus der Ersatzteilliste Ihres Toro Gerätes aus und bestellen Sie einfach online. Viele Toro Ersatzteile halten wir ständig in unserem Lager für Sie bereit.


Qualitätsmanagement
Informieren Sie uns, wenn Sie einen Fehler gefunden haben.

