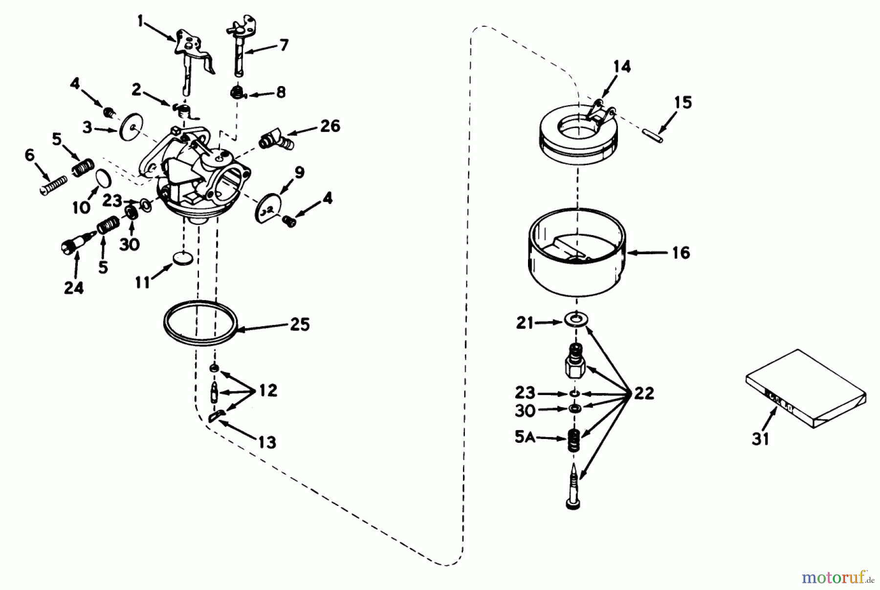
Toro 23267 - Lawnmower, 1978 (8000001-8999999) CARBURETOR MODEL NO. 631165 Ersatzteile
CARBURETOR MODEL NO. 631165 23267 - Toro Lawnmower, 1978 (8000001-8999999)

Hier finden Sie die Ersatzteilzeichnung für Toro Neu Mowers, Wide-Area Walk-Behind 23267 - Toro Lawnmower, 1978 (8000001-8999999) CARBURETOR MODEL NO. 631165. Wählen Sie das benötigte Ersatzteil aus der Ersatzteilliste Ihres Toro Gerätes aus und bestellen Sie einfach online. Viele Toro Ersatzteile halten wir ständig in unserem Lager für Sie bereit.





