Toro 23200 - Heavy-Duty Whirlwind, 1966 (6000001-6999999) RECOIL STARTER MODEL NO. 28319A Ersatzteile
RECOIL STARTER MODEL NO. 28319A 23200 - Toro Heavy-Duty Whirlwind, 1966 (6000001-6999999)

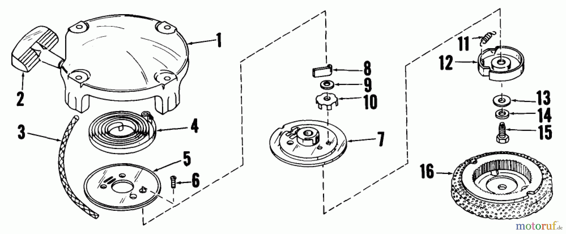
Hier finden Sie die Ersatzteilzeichnung für Toro Neu Mowers, Wide-Area Walk-Behind 23200 - Toro Heavy-Duty Whirlwind, 1966 (6000001-6999999) RECOIL STARTER MODEL NO. 28319A. Wählen Sie das benötigte Ersatzteil aus der Ersatzteilliste Ihres Toro Gerätes aus und bestellen Sie einfach online. Viele Toro Ersatzteile halten wir ständig in unserem Lager für Sie bereit.
| BildNr | Artikel Nummer | Bezeichnung | |
| 1 | TC31695 | ||
| 2 | TC590387 | START HANDLE | |
| 3 | TC590535 | STARTERSEIL | |
| 4 | TC28289 | ||
| 5 | TC28287 | ||
| 6 | TC590275 | ||
| 7 | TC31693 | ||
| 8 | TC590148 | STARTER DOG | |
| 9 | TC31281 | ||
| 10 | TC28774 | ||
| 11 | TC31277 | RET SPRING | |
| 12 | TC31280 | ||
| 13 | TC31289 | ||
| 14 | TC28780 | ||
| 15 | TC29728 | NICHT MEHR LIEFERBAR | |
| 16 | TC29709 | STARTERSCHALE U, SIEB | |


Qualitätsmanagement
Informieren Sie uns, wenn Sie einen Fehler gefunden haben.

