Toro 22195 - 21" Heavy-Duty Recycler/Rear Bagger Lawn Mower, 2009 (290000001-290999999) AIR CLEANER ASSEMBLY HONDA GXV160UH2 A1T Ersatzteile
AIR CLEANER ASSEMBLY HONDA GXV160UH2 A1T 22195 - Toro 21" Heavy-Duty Recycler/Rear Bagger Lawn Mower, 2009 (290000001-290999999)

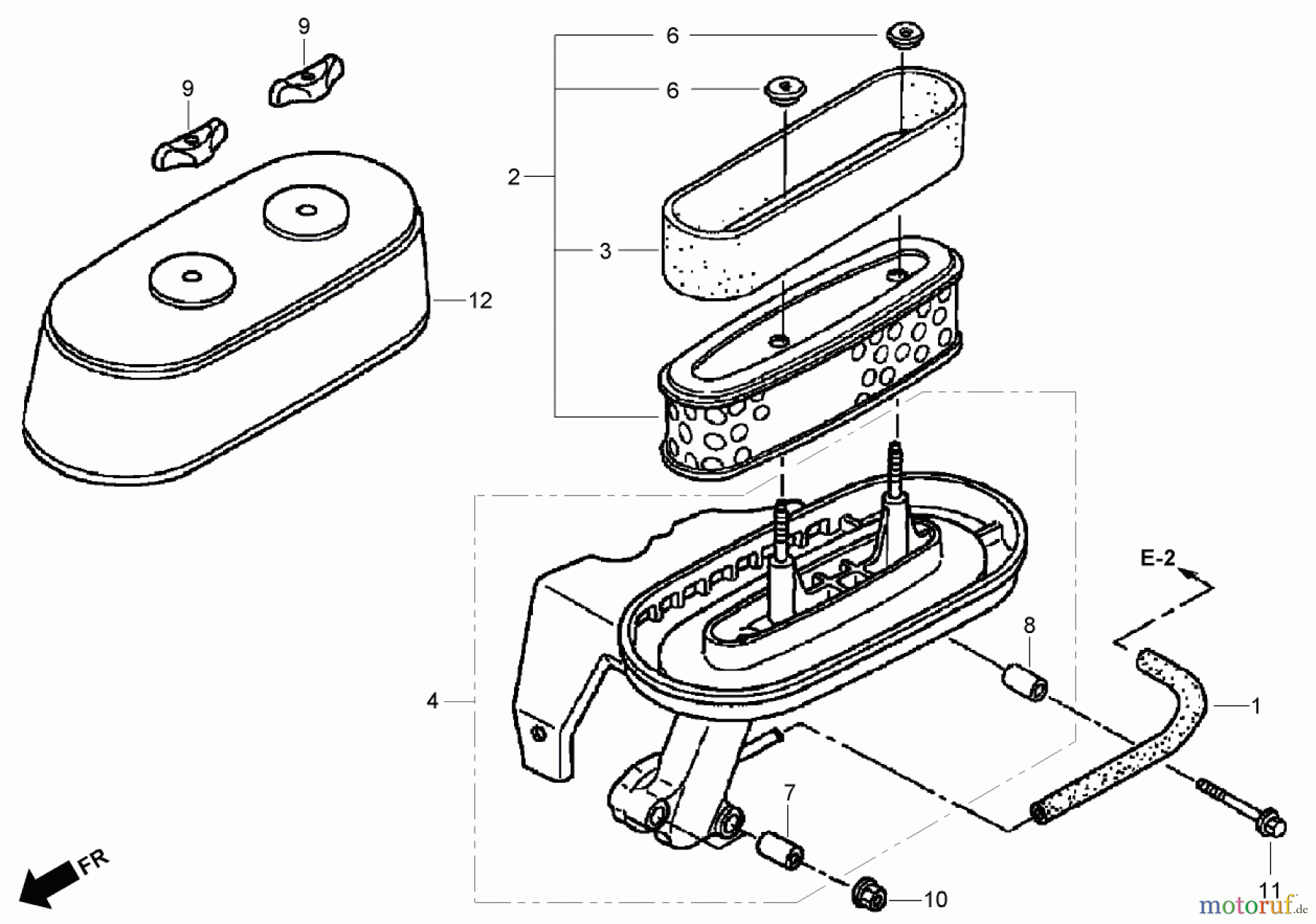
Hier finden Sie die Ersatzteilzeichnung für Toro Neu Mowers, Walk-Behind Seite 2 22195 - Toro 21" Heavy-Duty Recycler/Rear Bagger Lawn Mower, 2009 (290000001-290999999) AIR CLEANER ASSEMBLY HONDA GXV160UH2 A1T. Wählen Sie das benötigte Ersatzteil aus der Ersatzteilliste Ihres Toro Gerätes aus und bestellen Sie einfach online. Viele Toro Ersatzteile halten wir ständig in unserem Lager für Sie bereit.
| BildNr | Artikel Nummer | Bezeichnung | |
| 1 | Honda 15721-ZE7-000 | ||
| 2 | Honda 17210-Z1V-003 | ||
| 3 | Honda 17218-ZE6-505 | ||
| 4 | Honda 17220-Z1V-000 | ||
| 6 | Honda 17232-891-000 | ||
| 7 | Honda 17238-ZE7-710 | ||
| 8 | Honda 17239-ZE6-300 | ||
| 9 | Honda 90300-Z1V-000 | ||
| 10 | Honda 94050-06000 | ||
| 11 | Honda 95701-06035-00 | ||
| 12 | Honda 17231-Z1V-G01 | ||


Qualitätsmanagement
Informieren Sie uns, wenn Sie einen Fehler gefunden haben.

