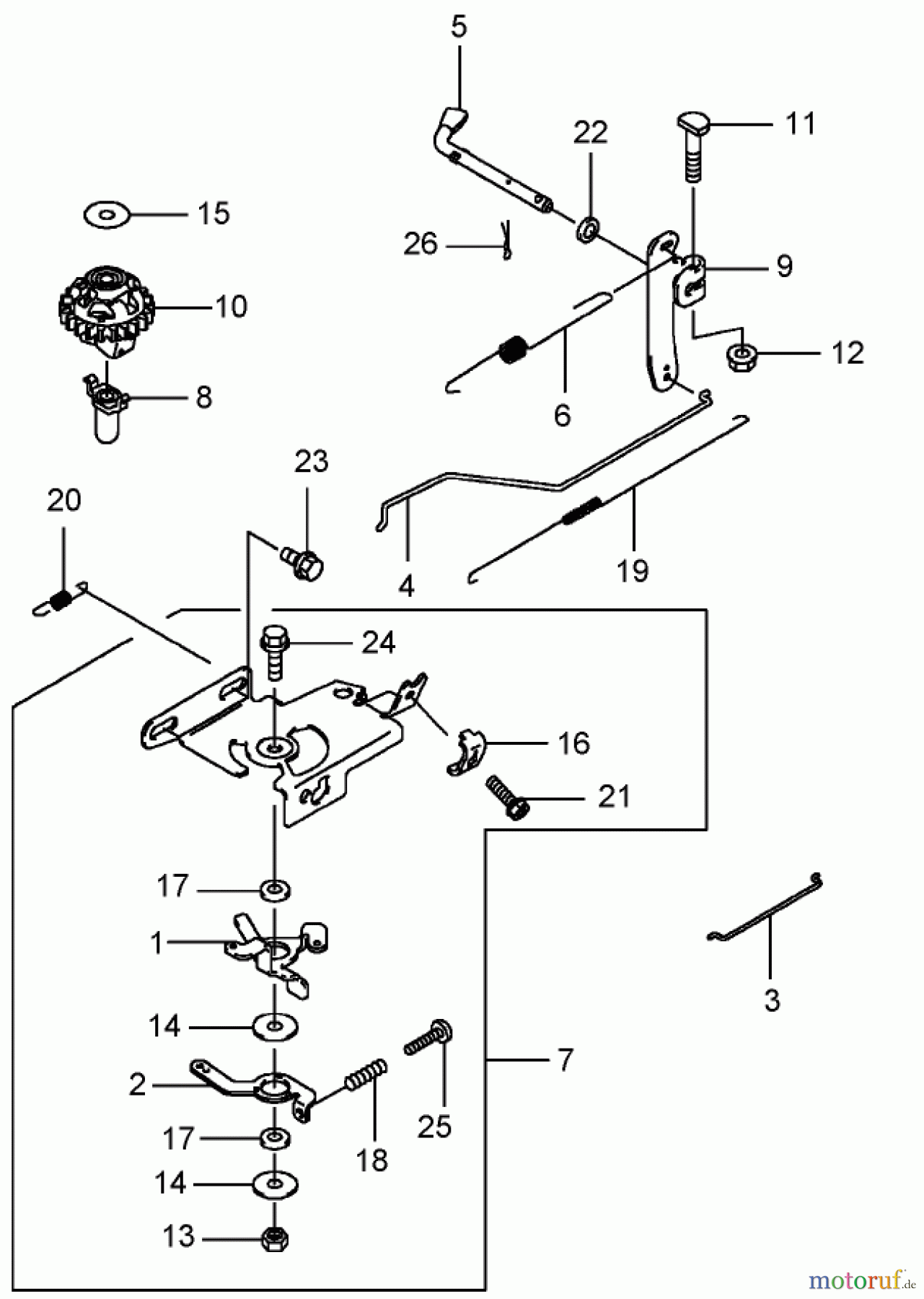
Toro 22178 - 21" Heavy-Duty Rear Bagger Lawnmower, 2006 (260000001-260004000) CONTROL EQUIPMENT ASSEMBLY Ersatzteile
CONTROL EQUIPMENT ASSEMBLY 22178 - Toro 21" Heavy-Duty Rear Bagger Lawnmower, 2006 (260000001-260004000)

Hier finden Sie die Ersatzteilzeichnung für Toro Neu Mowers, Walk-Behind Seite 2 22178 - Toro 21" Heavy-Duty Rear Bagger Lawnmower, 2006 (260000001-260004000) CONTROL EQUIPMENT ASSEMBLY. Wählen Sie das benötigte Ersatzteil aus der Ersatzteilliste Ihres Toro Gerätes aus und bestellen Sie einfach online. Viele Toro Ersatzteile halten wir ständig in unserem Lager für Sie bereit.



