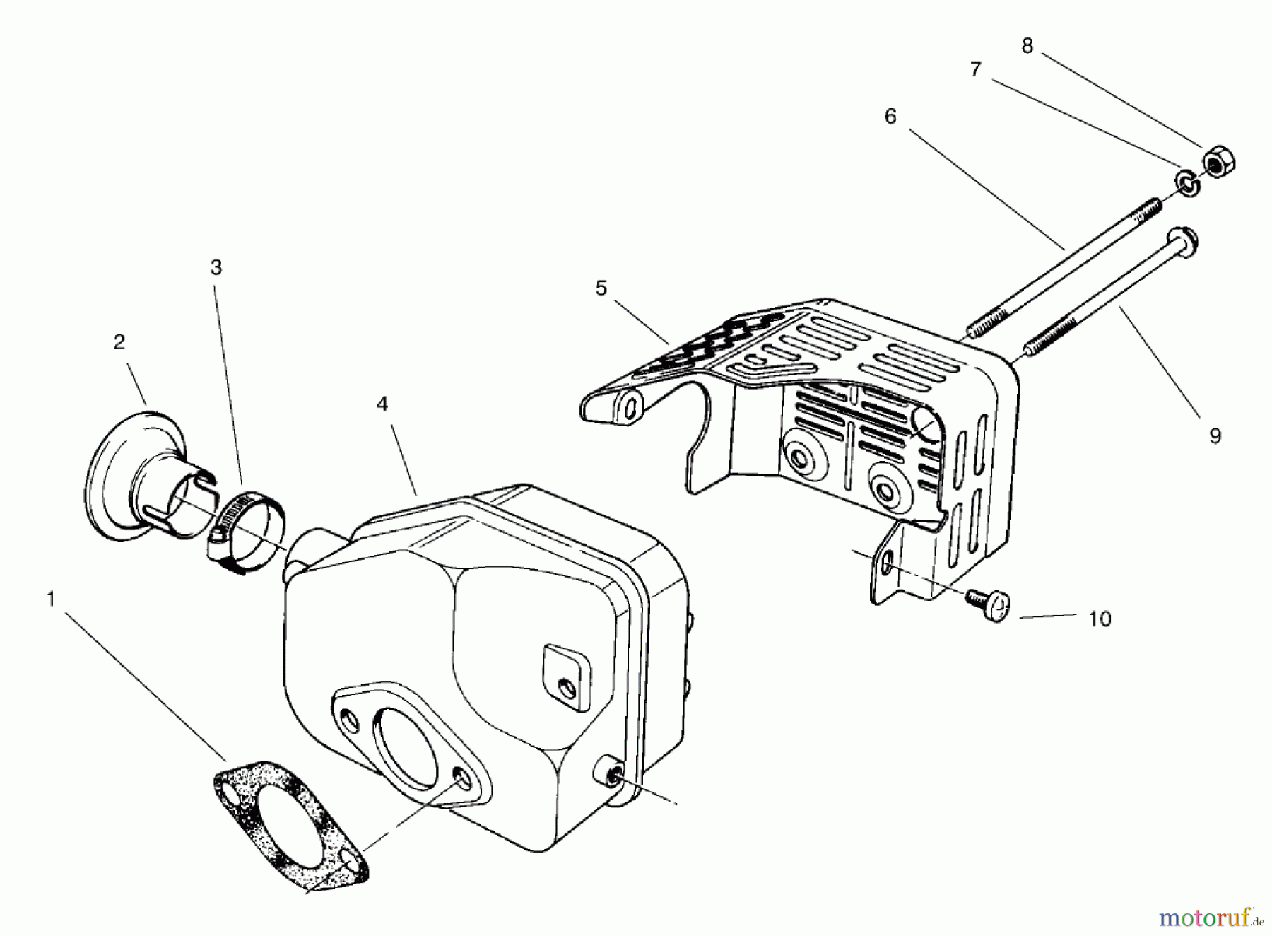
Toro 22031 - ProLine 21" Recycler Lawnmower, 1996 (6900001-6999999) MUFFLER ASSEMBLY (MODEL NO. 47PT6-3) Ersatzteile
MUFFLER ASSEMBLY (MODEL NO. 47PT6-3) 22031 - Toro ProLine 21" Recycler Lawnmower, 1996 (6900001-6999999)

Hier finden Sie die Ersatzteilzeichnung für Toro Neu Mowers, Walk-Behind Seite 2 22031 - Toro ProLine 21" Recycler Lawnmower, 1996 (6900001-6999999) MUFFLER ASSEMBLY (MODEL NO. 47PT6-3). Wählen Sie das benötigte Ersatzteil aus der Ersatzteilliste Ihres Toro Gerätes aus und bestellen Sie einfach online. Viele Toro Ersatzteile halten wir ständig in unserem Lager für Sie bereit.



