Toro 22026 - Side Discharge Mower, 2000 (200000001-200999999) BRAKE ASSEMBLY Ersatzteile
BRAKE ASSEMBLY 22026 - Toro Side Discharge Mower, 2000 (200000001-200999999)

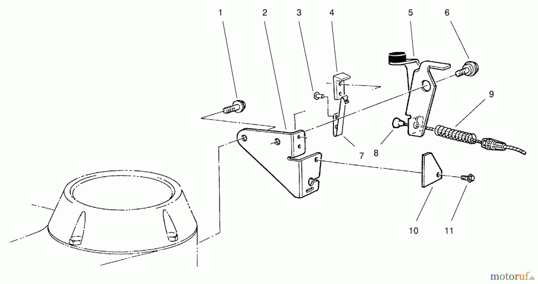
Hier finden Sie die Ersatzteilzeichnung für Toro Neu Mowers, Walk-Behind Seite 2 22026 - Toro Side Discharge Mower, 2000 (200000001-200999999) BRAKE ASSEMBLY. Wählen Sie das benötigte Ersatzteil aus der Ersatzteilliste Ihres Toro Gerätes aus und bestellen Sie einfach online. Viele Toro Ersatzteile halten wir ständig in unserem Lager für Sie bereit.
| BildNr | Artikel Nummer | Bezeichnung | |
| 1 | TR32144-10 | SCREW-HWH | |
| 2 | TR84-7820 | PLATE-BRAKE | |
| 3 | TR3290-459 | Niete | |
| 4 | TR77-5260 | Isolierstueck | |
| 5 | TR66-5380 | Halteplatte Kpl. | |
| 6 | TR92-9698 | Schraube | |
| 7 | TR60-9010 | Federblech | |
| 8 | TR85-6870 | BRAKE CABLE | |
| 9 | TR66-5370 | Feder | |
| 10 | TR53-4690 | Abdeckung | |
| 11 | TR32144-112 | Schraube | |
| TR14-6009 | Platte | ||


Qualitätsmanagement
Informieren Sie uns, wenn Sie einen Fehler gefunden haben.

