Toro 20574 - Lawnmower, 1983 (3000001-3999999) STARTER ASSEMBLY Ersatzteile
STARTER ASSEMBLY 20574 - Toro Lawnmower, 1983 (3000001-3999999)

Hier finden Sie die Ersatzteilzeichnung für Toro Neu Mowers, Walk-Behind Seite 1 20574 - Toro Lawnmower, 1983 (3000001-3999999) STARTER ASSEMBLY. Wählen Sie das benötigte Ersatzteil aus der Ersatzteilliste Ihres Toro Gerätes aus und bestellen Sie einfach online. Viele Toro Ersatzteile halten wir ständig in unserem Lager für Sie bereit.
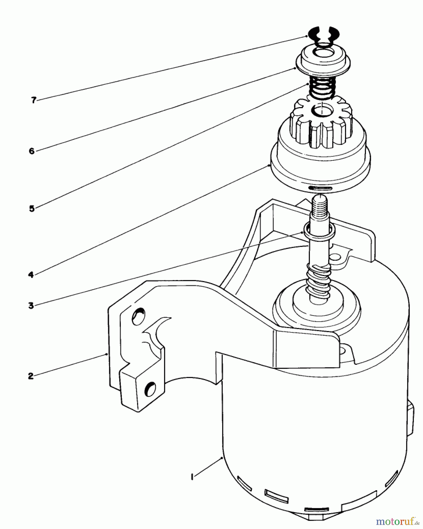
| BildNr | Artikel Nummer | Bezeichnung | |
| 1 | TR218-543 | END FRAME W/BRUSH | |
| 2 | TR218-541 | Starterhalterung | |
| 3 | TR23-9591 | Distanzring | |
| 4 | TR43-4370 | Starterritzel | |
| 5 | TR44-0500 | Druckfeder | |
| 6 | TR49-2170 | PINION STOP | |
| 7 | TR32151-47 | RING-RETAINING | |


Qualitätsmanagement
Informieren Sie uns, wenn Sie einen Fehler gefunden haben.

