Toro 20472 - Super Recycler Lawnmower, 1996 (6900001-6999999) ENGINE BRIGGS & STRATTON MODEL 128802-0615-01 #5 Ersatzteile
ENGINE BRIGGS & STRATTON MODEL 128802-0615-01 #5 20472 - Toro Super Recycler Lawnmower, 1996 (6900001-6999999)

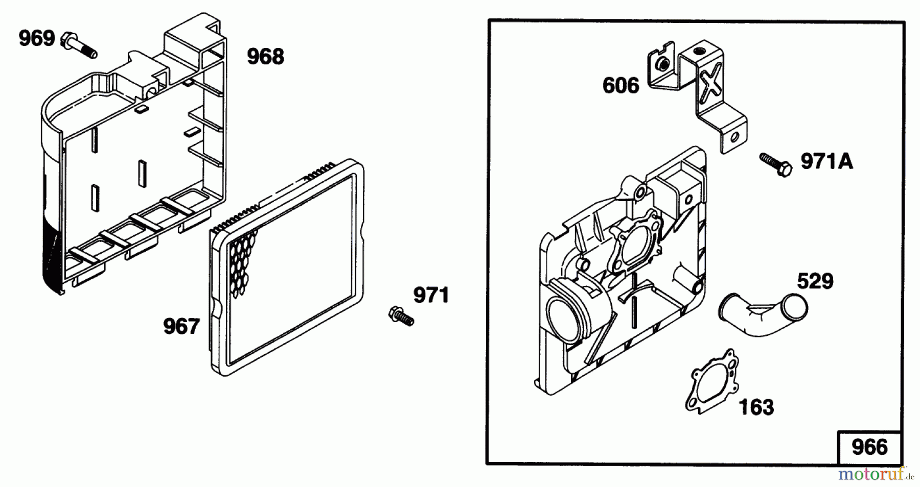
Hier finden Sie die Ersatzteilzeichnung für Toro Neu Mowers, Walk-Behind Seite 1 20472 - Toro Super Recycler Lawnmower, 1996 (6900001-6999999) ENGINE BRIGGS & STRATTON MODEL 128802-0615-01 #5. Wählen Sie das benötigte Ersatzteil aus der Ersatzteilliste Ihres Toro Gerätes aus und bestellen Sie einfach online. Viele Toro Ersatzteile halten wir ständig in unserem Lager für Sie bereit.
| BildNr | Artikel Nummer | Bezeichnung | |
| 163 | BS272653S | DICHTUNG-LUFTFILTER | |
| 529 | BS691923 | KNIESTUECK | |
| 606 | BS792040 | LUFTFILTERGRUNDPLATTE | |
| 966 | BS496116 | LUFTFILTERGRUNDPLATTE SATZ | |
| 967 | BS491588S | LUFTFILTER | |
| 968 | BS692298 | LUFTFILTERDECKEL | |
| 969 | BS94120 | ||
| 971 | BS94873 | ||
| 971A | BS691669 | SCHRAUBE | |


Qualitätsmanagement
Informieren Sie uns, wenn Sie einen Fehler gefunden haben.

