Toro 20457 - Lawnmower, 1997 (7900001-7999999) DISCHARGE PLUG ASSEMBLY Ersatzteile
DISCHARGE PLUG ASSEMBLY 20457 - Toro Lawnmower, 1997 (7900001-7999999)

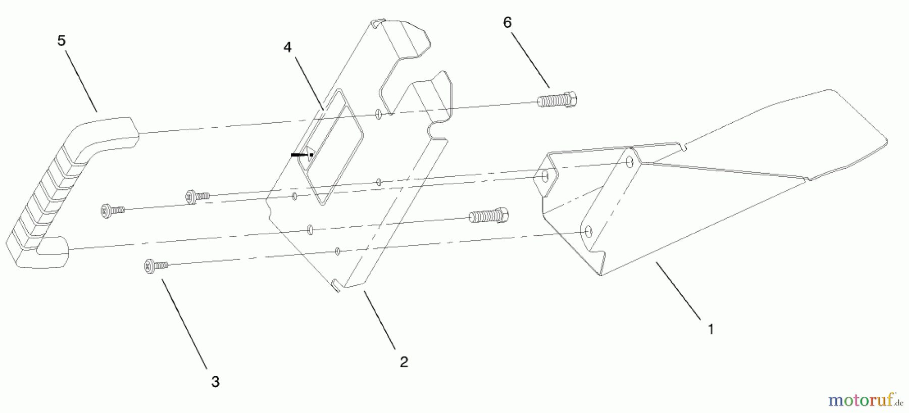
Hier finden Sie die Ersatzteilzeichnung für Toro Neu Mowers, Walk-Behind Seite 1 20457 - Toro Lawnmower, 1997 (7900001-7999999) DISCHARGE PLUG ASSEMBLY. Wählen Sie das benötigte Ersatzteil aus der Ersatzteilliste Ihres Toro Gerätes aus und bestellen Sie einfach online. Viele Toro Ersatzteile halten wir ständig in unserem Lager für Sie bereit.
| BildNr | Artikel Nummer | Bezeichnung | |
| 1 | TR93-0279-03 | Recyclerstofen | |
| 2 | TR93-0280-03 | Deckel Fuer Stopfen | |
| 3 | TR32104-122 | Schraube | |
| 4 | TR88-6930 | DECAL - WARNING | |
| 5 | TR65-5100 | HANDLE-DOOR | |
| 6 | TR46-8091 | Schraube | |


Qualitätsmanagement
Informieren Sie uns, wenn Sie einen Fehler gefunden haben.

