Toro 20441 - Lawnmower, 1996 (6900001-6999999) REAR BAGGING ASS-Y (MODEL NO. 20453 ONLY) #3 Ersatzteile
REAR BAGGING ASS-Y (MODEL NO. 20453 ONLY) #3 20441 - Toro Lawnmower, 1996 (6900001-6999999)

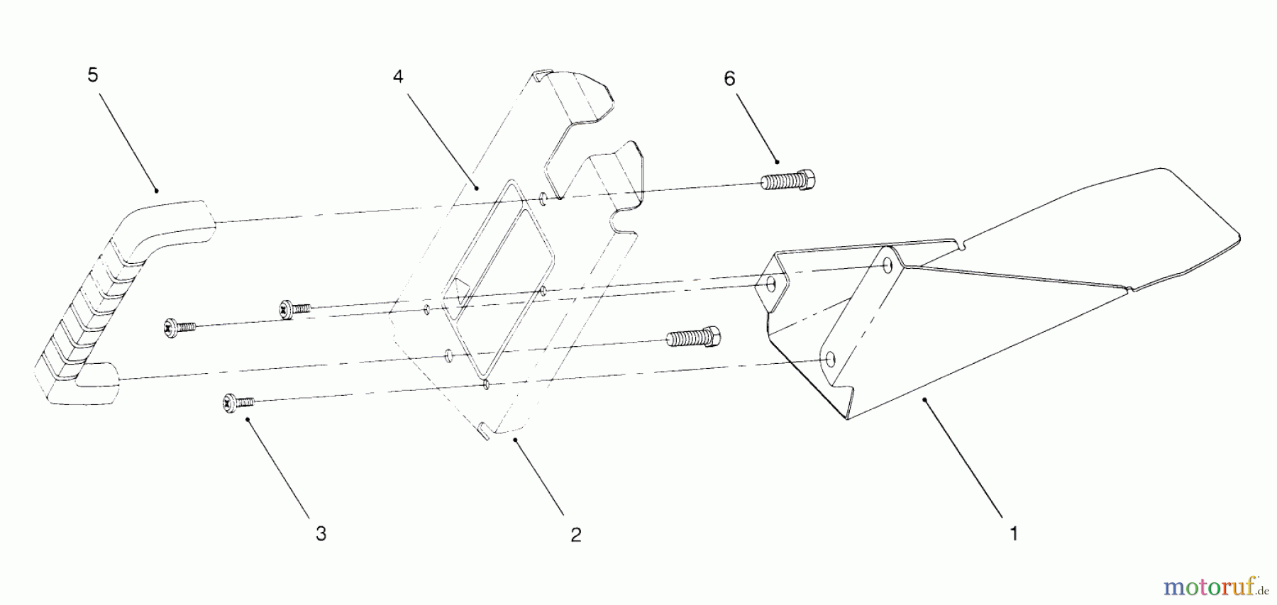
Hier finden Sie die Ersatzteilzeichnung für Toro Neu Mowers, Walk-Behind Seite 1 20441 - Toro Lawnmower, 1996 (6900001-6999999) REAR BAGGING ASS-Y (MODEL NO. 20453 ONLY) #3. Wählen Sie das benötigte Ersatzteil aus der Ersatzteilliste Ihres Toro Gerätes aus und bestellen Sie einfach online. Viele Toro Ersatzteile halten wir ständig in unserem Lager für Sie bereit.
| BildNr | Artikel Nummer | Bezeichnung | |
| 1 | TR93-0279-03 | Recyclerstofen | |
| 2 | TR93-0280-03 | Deckel Fuer Stopfen | |
| 3 | TR32104-122 | Schraube | |
| 4 | TR88-6930 | DECAL - WARNING | |
| 5 | TR65-5100 | HANDLE-DOOR | |
| 6 | TR46-8091 | Schraube | |
| TR93-0275 | ASM - DISCHARGE PLUG | ||


Qualitätsmanagement
Informieren Sie uns, wenn Sie einen Fehler gefunden haben.

