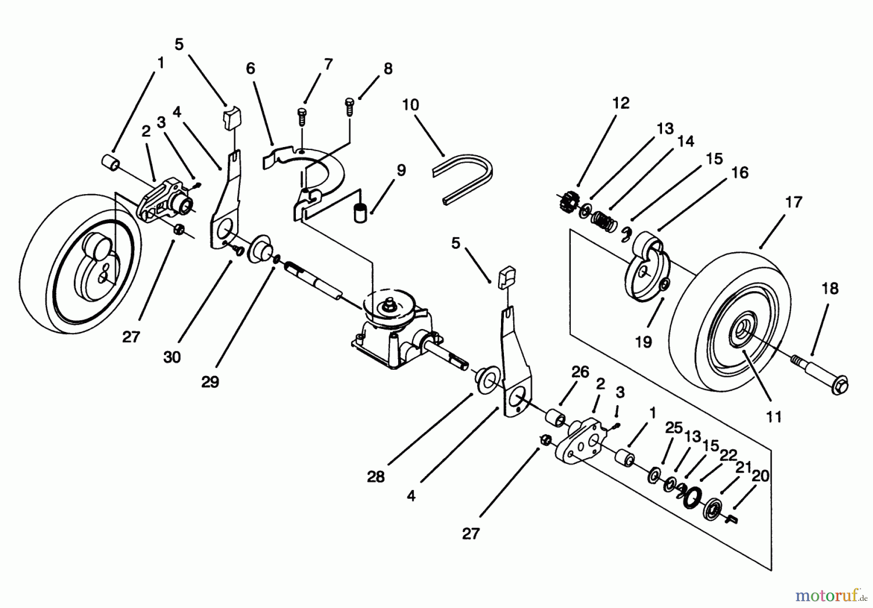
Toro 20432 - Lawnmower, 1993 (39000001-39999999) REAR AXLE & WHEEL ASSEMBLY Ersatzteile
REAR AXLE & WHEEL ASSEMBLY 20432 - Toro Lawnmower, 1993 (39000001-39999999)

Hier finden Sie die Ersatzteilzeichnung für Toro Neu Mowers, Walk-Behind Seite 1 20432 - Toro Lawnmower, 1993 (39000001-39999999) REAR AXLE & WHEEL ASSEMBLY. Wählen Sie das benötigte Ersatzteil aus der Ersatzteilliste Ihres Toro Gerätes aus und bestellen Sie einfach online. Viele Toro Ersatzteile halten wir ständig in unserem Lager für Sie bereit.


Qualitätsmanagement
Informieren Sie uns, wenn Sie einen Fehler gefunden haben.














