Toro 20058 - Super Recycler Lawn Mower, 2006 (260000001-260999999) ELECTRIC STARTER ASSEMBLY BRIGGS AND STRATTON 125K07-0188-E1 Ersatzteile
ELECTRIC STARTER ASSEMBLY BRIGGS AND STRATTON 125K07-0188-E1 20058 - Toro Super Recycler Lawn Mower, 2006 (260000001-260999999)

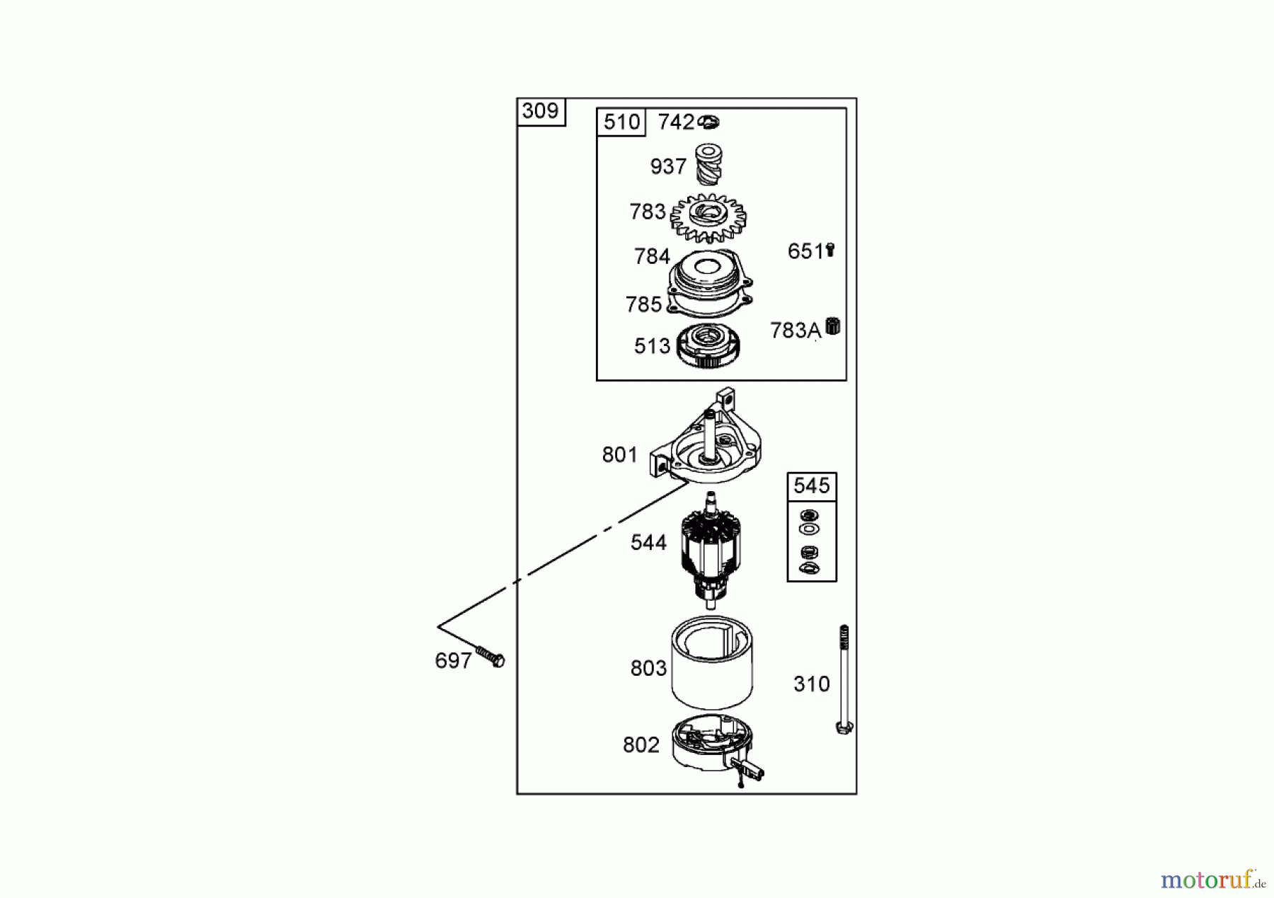
Hier finden Sie die Ersatzteilzeichnung für Toro Neu Mowers, Walk-Behind Seite 1 20058 - Toro Super Recycler Lawn Mower, 2006 (260000001-260999999) ELECTRIC STARTER ASSEMBLY BRIGGS AND STRATTON 125K07-0188-E1. Wählen Sie das benötigte Ersatzteil aus der Ersatzteilliste Ihres Toro Gerätes aus und bestellen Sie einfach online. Viele Toro Ersatzteile halten wir ständig in unserem Lager für Sie bereit.
| BildNr | Artikel Nummer | Bezeichnung | |
| 309 | BS795092 | MOTOR-STARTER | |
| 310 | BS692327 | SCHRAUBE | |
| 510 | BS494147 | STARTERANTRIEB | |
| 513 | BS795100 | ANTRIEBSZAHNKRANZ | |
| 544 | BS690786 | STARTERSPULE | |
| 545 | BS492919 | SCHEIBE | |
| 651 | BS690345 | SCHRAUBE | |
| 697 | BS691127 | SCHRAUBE | |
| 742 | BS93941 | HALTER | |
| 783 | ![]() | BS795099 | ZAHNRAD |
| 783A | BS795096 | ZAHNRAD | |
| 784 | BS692341 | STARTERDECKEL | |
| 785 | BS692352 | DECKELDICHTUNG | |
| 801 | BS690782 | DECKEL | |
| 803 | BS695266 | STARTERGEHAEUSE | |
| 937 | BS795098 | SCHNECKENWELLE-STARTER | |




