Toro 20055 - Super Recycler Lawn Mower, 2006 (260000001-260999999) CYLINDER ASSEMBLY BRIGGS AND STRATTON 125K02-0189-E1 Ersatzteile
CYLINDER ASSEMBLY BRIGGS AND STRATTON 125K02-0189-E1 20055 - Toro Super Recycler Lawn Mower, 2006 (260000001-260999999)

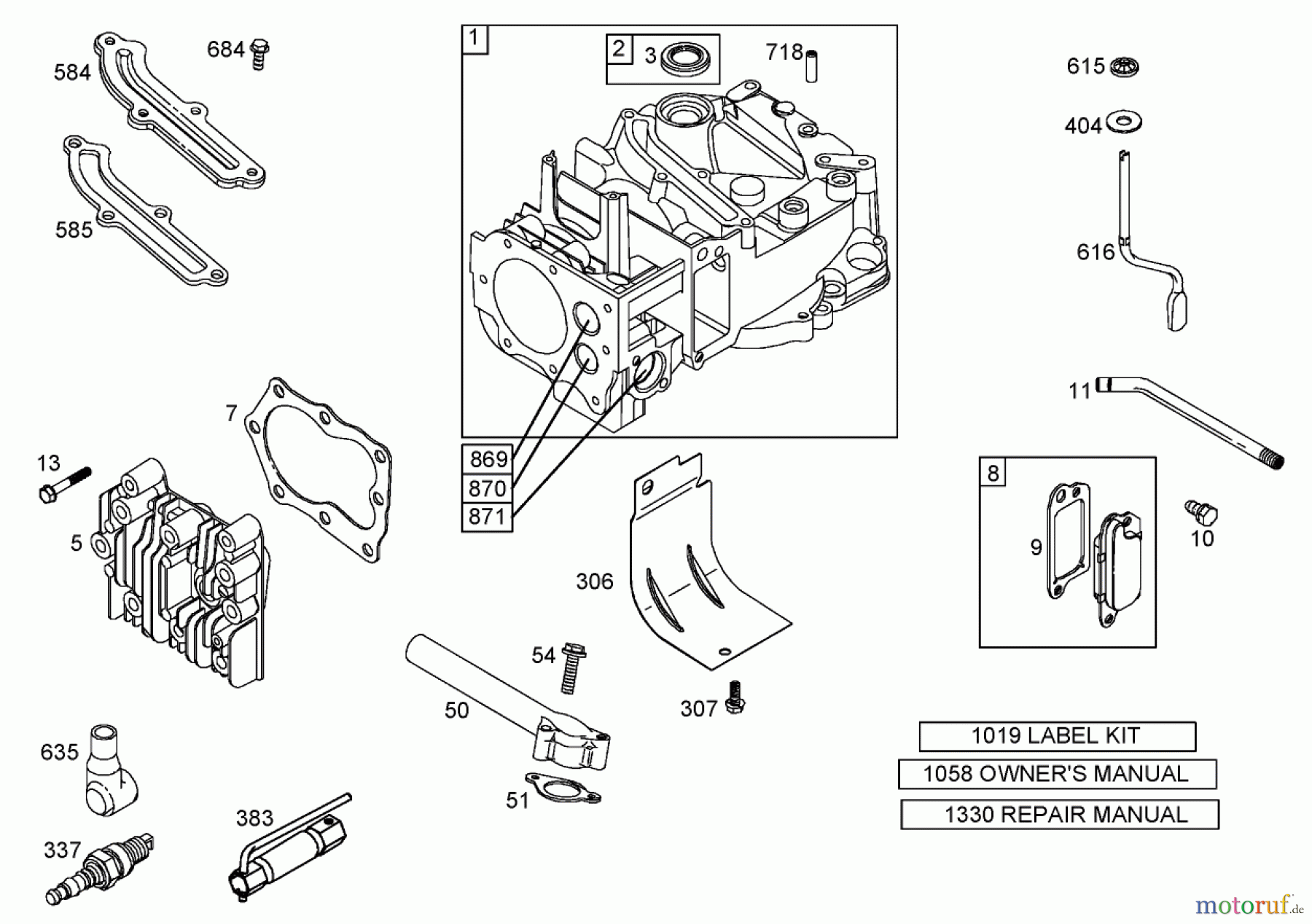
Hier finden Sie die Ersatzteilzeichnung für Toro Neu Mowers, Walk-Behind Seite 1 20055 - Toro Super Recycler Lawn Mower, 2006 (260000001-260999999) CYLINDER ASSEMBLY BRIGGS AND STRATTON 125K02-0189-E1. Wählen Sie das benötigte Ersatzteil aus der Ersatzteilliste Ihres Toro Gerätes aus und bestellen Sie einfach online. Viele Toro Ersatzteile halten wir ständig in unserem Lager für Sie bereit.


Qualitätsmanagement
Informieren Sie uns, wenn Sie einen Fehler gefunden haben.




