Toro 20009 - 22" Recycler Lawnmower, 2002 (220000001-220999999) RECOIL STARTER NO. 590702 (OPTIONAL) TECUMSEH-LEV120-361541B Ersatzteile
RECOIL STARTER NO. 590702 (OPTIONAL) TECUMSEH-LEV120-361541B 20009 - Toro 22" Recycler Lawnmower, 2002 (220000001-220999999)

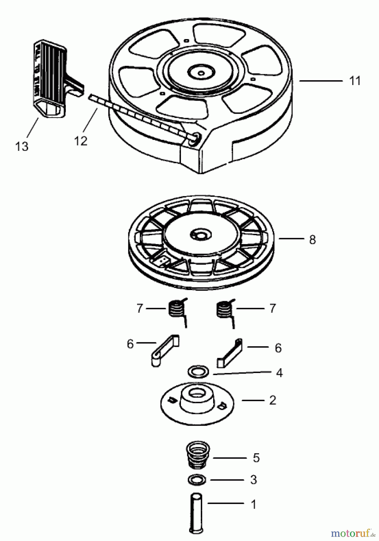
Hier finden Sie die Ersatzteilzeichnung für Toro Neu Mowers, Walk-Behind Seite 1 20009 - Toro 22" Recycler Lawnmower, 2002 (220000001-220999999) RECOIL STARTER NO. 590702 (OPTIONAL) TECUMSEH-LEV120-361541B. Wählen Sie das benötigte Ersatzteil aus der Ersatzteilliste Ihres Toro Gerätes aus und bestellen Sie einfach online. Viele Toro Ersatzteile halten wir ständig in unserem Lager für Sie bereit.
| BildNr | Artikel Nummer | Bezeichnung | |
| 1 | TC590599A | SPANNSTIFT | |
| 2 | TC590600 | SCHEIBE | |
| 3 | TC590696 | SICHERUNGSRING | |
| 4 | TC590601 | WASHER | |
| 5 | TC590697 | BRAKE SPRING | |
| 6 | TC590698 | STARTERKLINKE | |
| 7 | TC590699 | SPRING | |
| 8 | TC590700 | SEILSCHEIBE KPL, | |
| 11 | TC590703A | STARTERGEHAEUSE | |
| 12 | TC590535 | STARTERSEIL | |
| 13 | TC590701 | STARTERGRIFF | |


Qualitätsmanagement
Informieren Sie uns, wenn Sie einen Fehler gefunden haben.

