Toro 19444 - Whirlwind Lawnmower, 1970 (0000001-0999999) HANDLE ASSEMBLY Ersatzteile
HANDLE ASSEMBLY 19444 - Toro Whirlwind Lawnmower, 1970 (0000001-0999999)

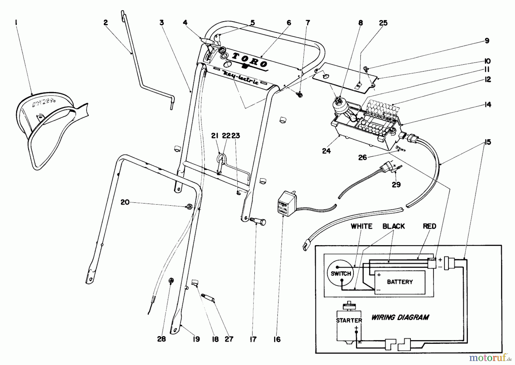
Hier finden Sie die Ersatzteilzeichnung für Toro Neu Mowers, Walk-Behind Seite 1 19444 - Toro Whirlwind Lawnmower, 1970 (0000001-0999999) HANDLE ASSEMBLY. Wählen Sie das benötigte Ersatzteil aus der Ersatzteilliste Ihres Toro Gerätes aus und bestellen Sie einfach online. Viele Toro Ersatzteile halten wir ständig in unserem Lager für Sie bereit.
| BildNr | Artikel Nummer | Bezeichnung | |
| 1 | TR11-0460 | Trichter | |
| 2 | TR3-0690 | DISCONTINUED | |
| 3 | TR5-4450 | ||
| 4 | TR46-6011 | THROTTLE CONT(SERVICE) | |
| 5 | TR62-7770 | ZUENDSCHLUESSEL | |
| 6 | TR5-4484 | ||
| 7 | TR32104-76 | Schraube | |
| 8 | TR5-4023 | ||
| 9 | TR32104-91 | SCHRAUBE | |
| 10 | TR5-4022 | ||
| 11 | TR5-3773 | ||
| 12 | TR5-3726 | DISCONTINUED | |
| 14 | TR5-3730 | ||
| 15 | TR5-4756 | ||
| 16 | TR5-9680 | DISCONTINUED | |
| 17 | TR5-4476 | DISCONTINUED | |
| 18 | TR218-75 | DISCONTINUED | |
| 19 | TR5-4424 | ||
| 20 | TR32153-4 | Mutter | |
| 21 | TR5-4421 | ||
| 22 | TR5-4422 | ||
| 23 | TR3290-299 | CLIP | |
| 24 | TR4-8479 | ||
| 25 | TR5-5920 | ||
| 26 | TR218-441 | KLEMME | |
| 27 | TR17-9380 | Stift | |
| 28 | TR32146-8 | 32153-4 | |
| 29 | TR218-443 | ||
| TR5-8679 | Grasfangsack | ||
| TR3-6279 | |||



