Toro 16320 - Lawnmower, 1981 (1000001-1999999) CARBURETOR ASSEMBLY MODEL 93508-0193-01 Ersatzteile
CARBURETOR ASSEMBLY MODEL 93508-0193-01 16320 - Toro Lawnmower, 1981 (1000001-1999999)

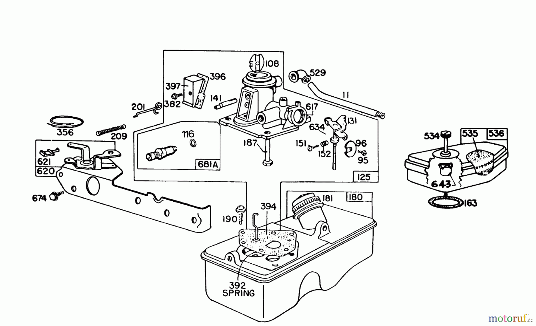
Hier finden Sie die Ersatzteilzeichnung für Toro Neu Mowers, Walk-Behind Seite 1 16320 - Toro Lawnmower, 1981 (1000001-1999999) CARBURETOR ASSEMBLY MODEL 93508-0193-01. Wählen Sie das benötigte Ersatzteil aus der Ersatzteilliste Ihres Toro Gerätes aus und bestellen Sie einfach online. Viele Toro Ersatzteile halten wir ständig in unserem Lager für Sie bereit.
| BildNr | Artikel Nummer | Bezeichnung | |
| 11 | BS230802 | ENTLUEFTERROHR | |
| 95 | BS691437 | SCHRAUBE 90029 | |
| 96 | BS211203 | DROSSELKLAPPE | |
| 108 | BS280178 | STARTERKLAPPE 298819 | |
| 116 | BS691898 | O-RING | |
| 125 | BS394591 | VERWEIS ZU | |
| 131 | BS394588 | WELLE 393003 | |
| 141 | BS68908 | STARTERKLAPPENWELLE | |
| 151 | BS93524 | SCHRAUBE 93392 | |
| 152 | BS260575 | VERWEIS ZU | |
| 163 | BS270816 | ||
| 180 | BS393113 | VERWEIS-NR. 396778 | |
| 181 | BS493982 | VERWEIS ZU | |
| 187 | BS393001 | VERWEIS-NR. 493981 | |
| 190 | BS94712 | ||
| 201 | BS260878 | GESTAENGE | |
| 209 | BS260875 | FEDER | |
| 356 | BS398808 | MASSEKABEL | |
| 382 | BS93864 | SCHRAUBE | |
| 392 | BS261016 | FEDER | |
| 394 | ![]() | BS299637 | MEMBRANE |
| 396 | BS270571 | DICHTUNG | |
| 397 | BS211678 | PLATTE | |
| 529 | ![]() | BS692189 | KNIESTUECK |
| 534 | BS93374 | SCHRAUBE | |
| 535 | BS270579S | FILTEREINSATZ | |
| 536 | BS390055 | LUFTFILTER 298566 | |
| 617 | BS270344S | O-RING | |
| 620 | BS299974 | PLATTE | |
| 621 | BS297472S | AUSSCHALTER | |
| 634 | BS270167 | FILZSCHEIBE | |
| 643 | BS221321 | ||
| 674 | BS94786 | ||
| 681A | BS393451 | VERWEIS-NR. 395508 | |


Qualitätsmanagement
Informieren Sie uns, wenn Sie einen Fehler gefunden haben.



