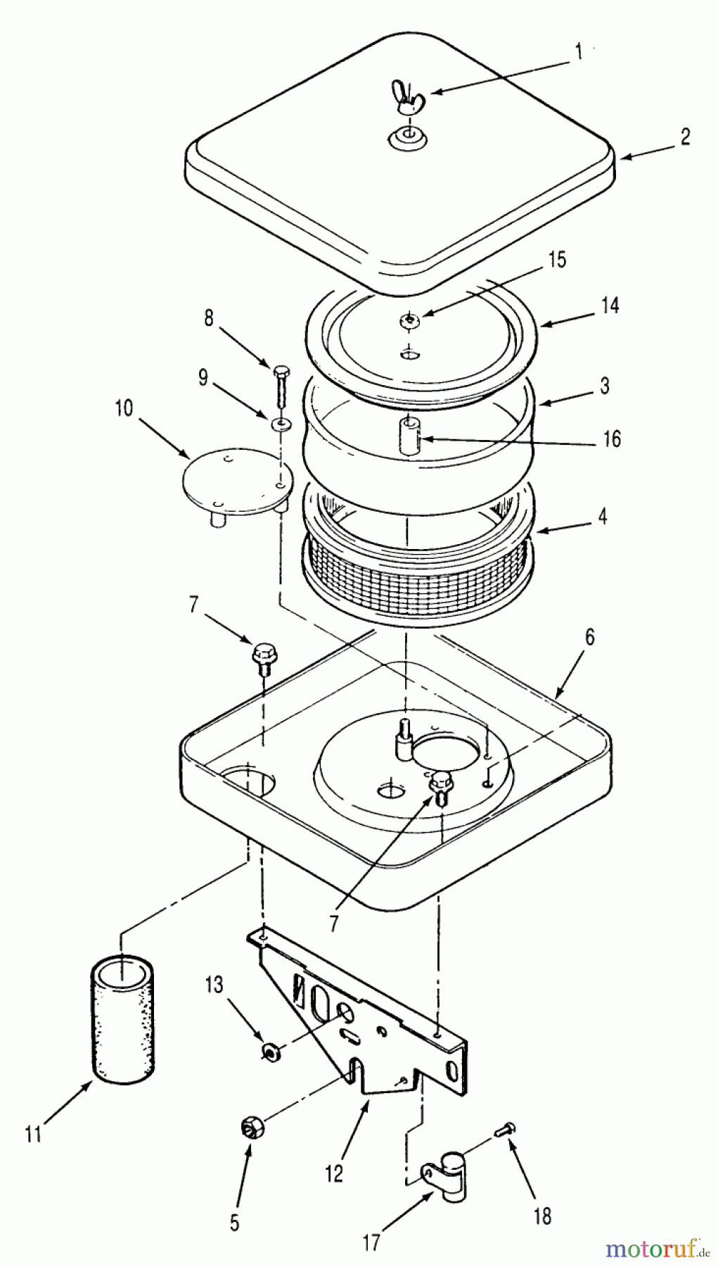
Toro R1-16O802 (316-8) - 316-8 Garden Tractor, 1990 TORO POWER PLUS AIR CLEANER Ersatzteile
TORO POWER PLUS AIR CLEANER R1-16O802 (316-8) - Toro 316-8 Garden Tractor, 1990

Hier finden Sie die Ersatzteilzeichnung für Toro Neu Mowers, Lawn & Garden Tractor Seite 2 R1-16O802 (316-8) - Toro 316-8 Garden Tractor, 1990 TORO POWER PLUS AIR CLEANER. Wählen Sie das benötigte Ersatzteil aus der Ersatzteilliste Ihres Toro Gerätes aus und bestellen Sie einfach online. Viele Toro Ersatzteile halten wir ständig in unserem Lager für Sie bereit.



