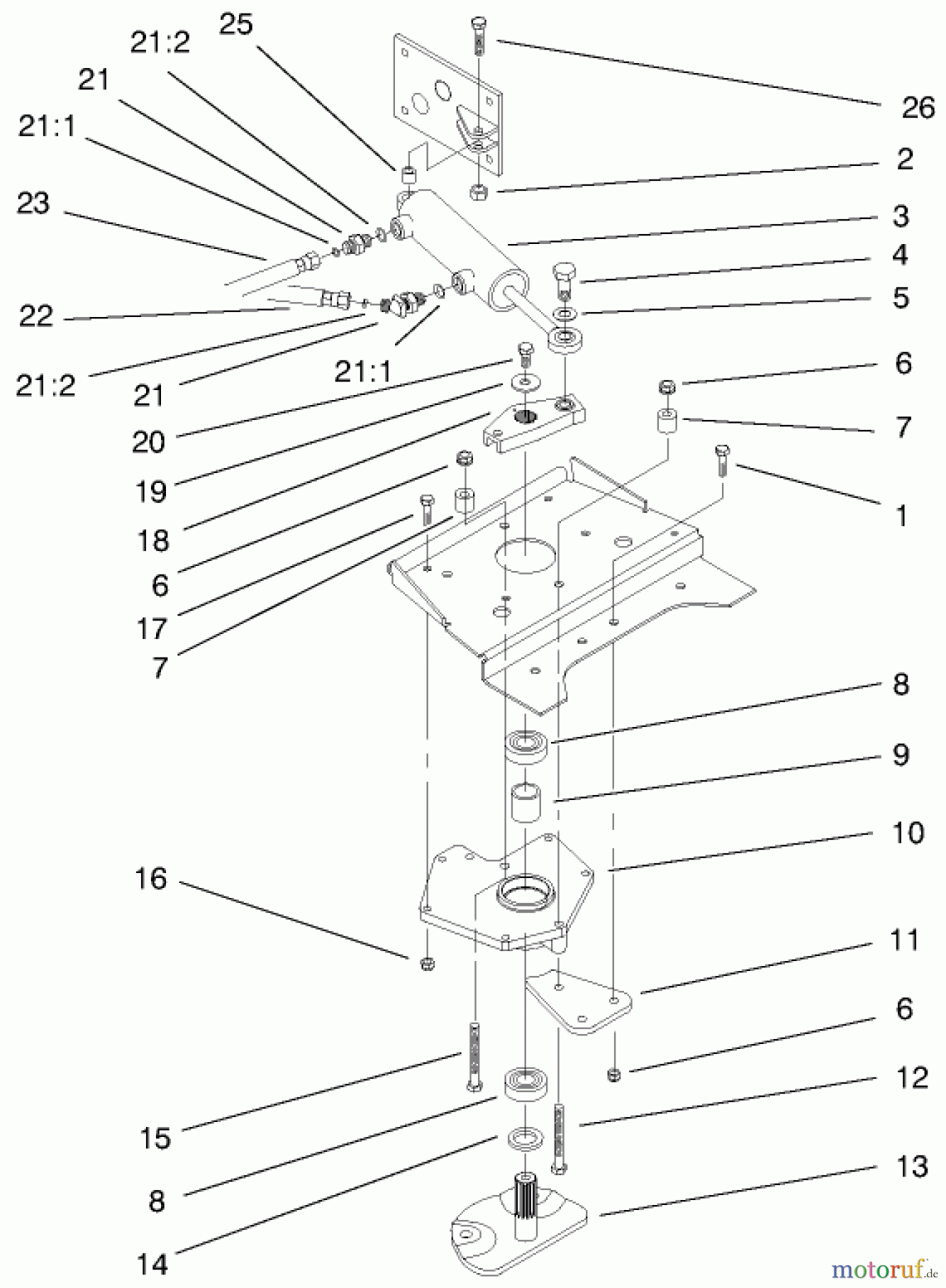
Toro 73545 (520Lxi) - 520Lxi Garden Tractor, 1998 (8900001-8999999) LOWER POWER STEERING ASSEMBLY Ersatzteile
LOWER POWER STEERING ASSEMBLY 73545 (520Lxi) - Toro 520Lxi Garden Tractor, 1998 (8900001-8999999)

Hier finden Sie die Ersatzteilzeichnung für Toro Neu Mowers, Lawn & Garden Tractor Seite 1 73545 (520Lxi) - Toro 520Lxi Garden Tractor, 1998 (8900001-8999999) LOWER POWER STEERING ASSEMBLY. Wählen Sie das benötigte Ersatzteil aus der Ersatzteilliste Ihres Toro Gerätes aus und bestellen Sie einfach online. Viele Toro Ersatzteile halten wir ständig in unserem Lager für Sie bereit.


Qualitätsmanagement
Informieren Sie uns, wenn Sie einen Fehler gefunden haben.


