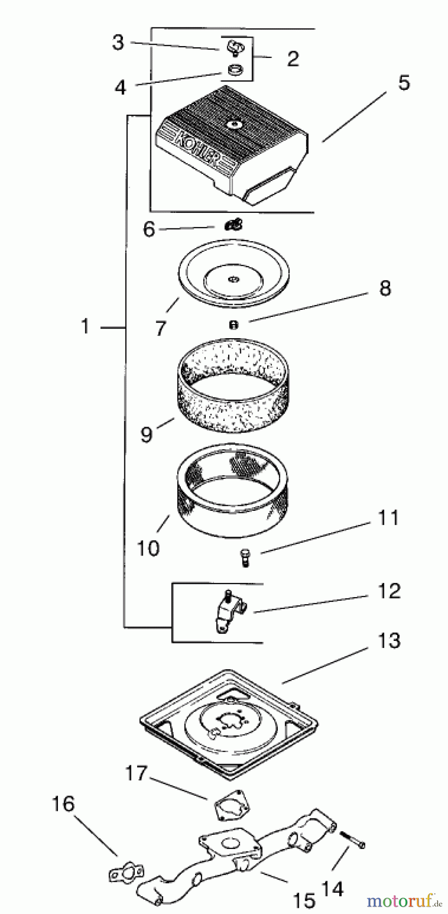
Toro 73542 (520xi) - 520xi Garden Tractor, 2001 (210000001-210999999) GROUP 10-AIR FILTER (MODEL 73471 ONLY) Ersatzteile
GROUP 10-AIR FILTER (MODEL 73471 ONLY) 73542 (520xi) - Toro 520xi Garden Tractor, 2001 (210000001-210999999)

Hier finden Sie die Ersatzteilzeichnung für Toro Neu Mowers, Lawn & Garden Tractor Seite 1 73542 (520xi) - Toro 520xi Garden Tractor, 2001 (210000001-210999999) GROUP 10-AIR FILTER (MODEL 73471 ONLY). Wählen Sie das benötigte Ersatzteil aus der Ersatzteilliste Ihres Toro Gerätes aus und bestellen Sie einfach online. Viele Toro Ersatzteile halten wir ständig in unserem Lager für Sie bereit.
| BildNr | Artikel Nummer | Bezeichnung | |
| 6 | KH1210001-S | NUT, WING | |
| 7 | KH2409601-S | COVER, INNER AIR CLEANER | |
| 11 | KHM-639016 | Schraube | |
| 14 | KHM-0651055 | ||
| 15 | KH2416414-S | MANIFOLD, METAL INTAKE | |
| 16 | KH2404101-S | GASKET, INTAKE MANIFOLD | |
| 17 | KH2404106-S | GASKET, AIR CLEANER BASE | |



