Toro 72102 (269-H) - 269-H Lawn and Garden Tractor, 1996 (6900001-6999999) CLUTCH 92-6885 Ersatzteile
CLUTCH 92-6885 72102 (269-H) - Toro 269-H Lawn and Garden Tractor, 1996 (6900001-6999999)

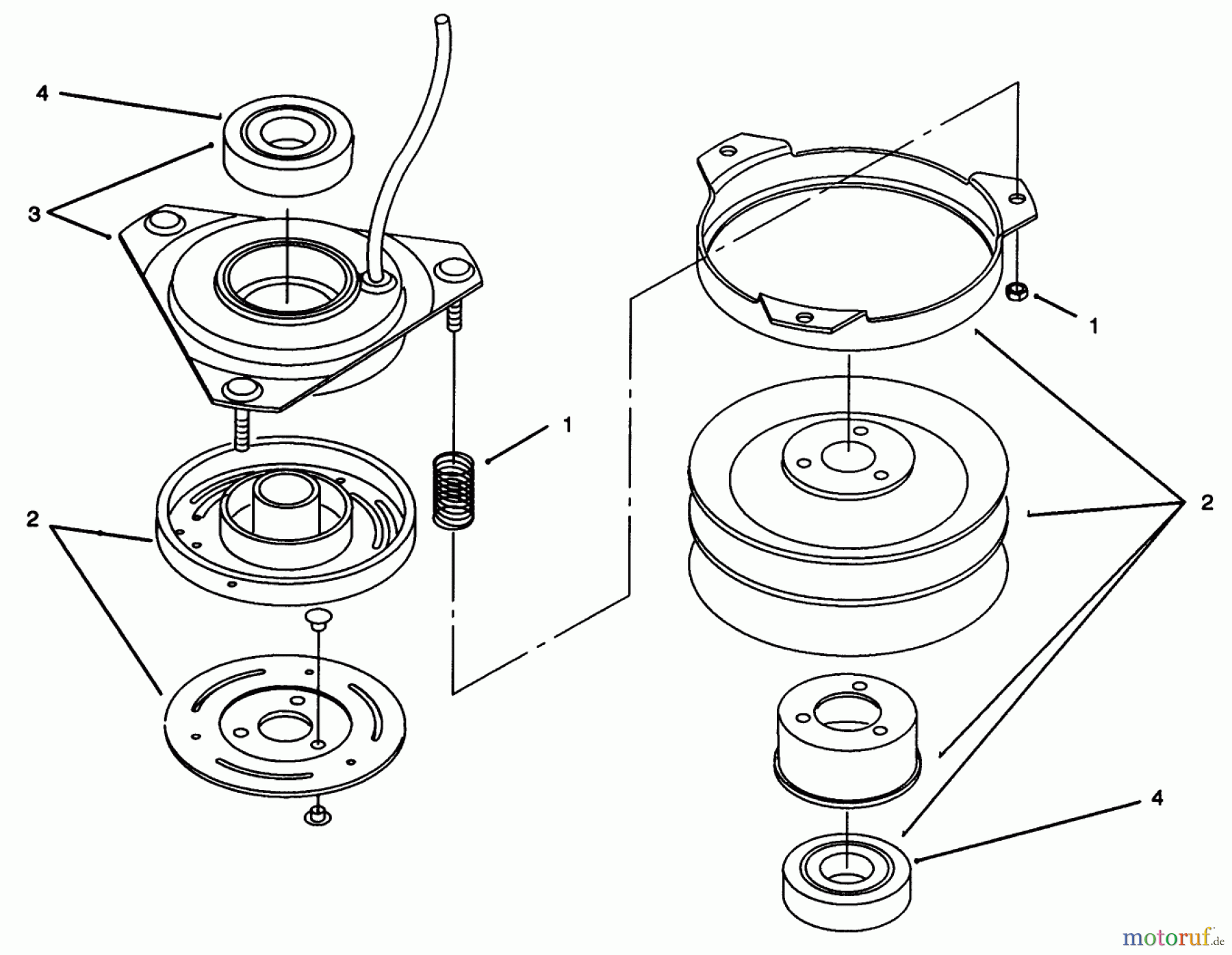
Hier finden Sie die Ersatzteilzeichnung für Toro Neu Mowers, Lawn & Garden Tractor Seite 1 72102 (269-H) - Toro 269-H Lawn and Garden Tractor, 1996 (6900001-6999999) CLUTCH 92-6885. Wählen Sie das benötigte Ersatzteil aus der Ersatzteilliste Ihres Toro Gerätes aus und bestellen Sie einfach online. Viele Toro Ersatzteile halten wir ständig in unserem Lager für Sie bereit.
| BildNr | Artikel Nummer | Bezeichnung | |
| 1 | TR92-3014 | ACCESSORY PKG SRVC PART | |
| 2 | TR94-4930 | ASM - ROTOR/ARMATURE | |
| 3 | TR92-3016 | Kupplungs-Oberteil | |
| 4 | TR114064 | Lager | |


Qualitätsmanagement
Informieren Sie uns, wenn Sie einen Fehler gefunden haben.

