Toro 71283 (17-44HXLE) - 17-44HXLE Lawn Tractor, 2002 (220010001-220999999) HYDRO TRANSAXLE ASSEMBLY Ersatzteile
HYDRO TRANSAXLE ASSEMBLY 71283 (17-44HXLE) - Toro 17-44HXLE Lawn Tractor, 2002 (220010001-220999999)

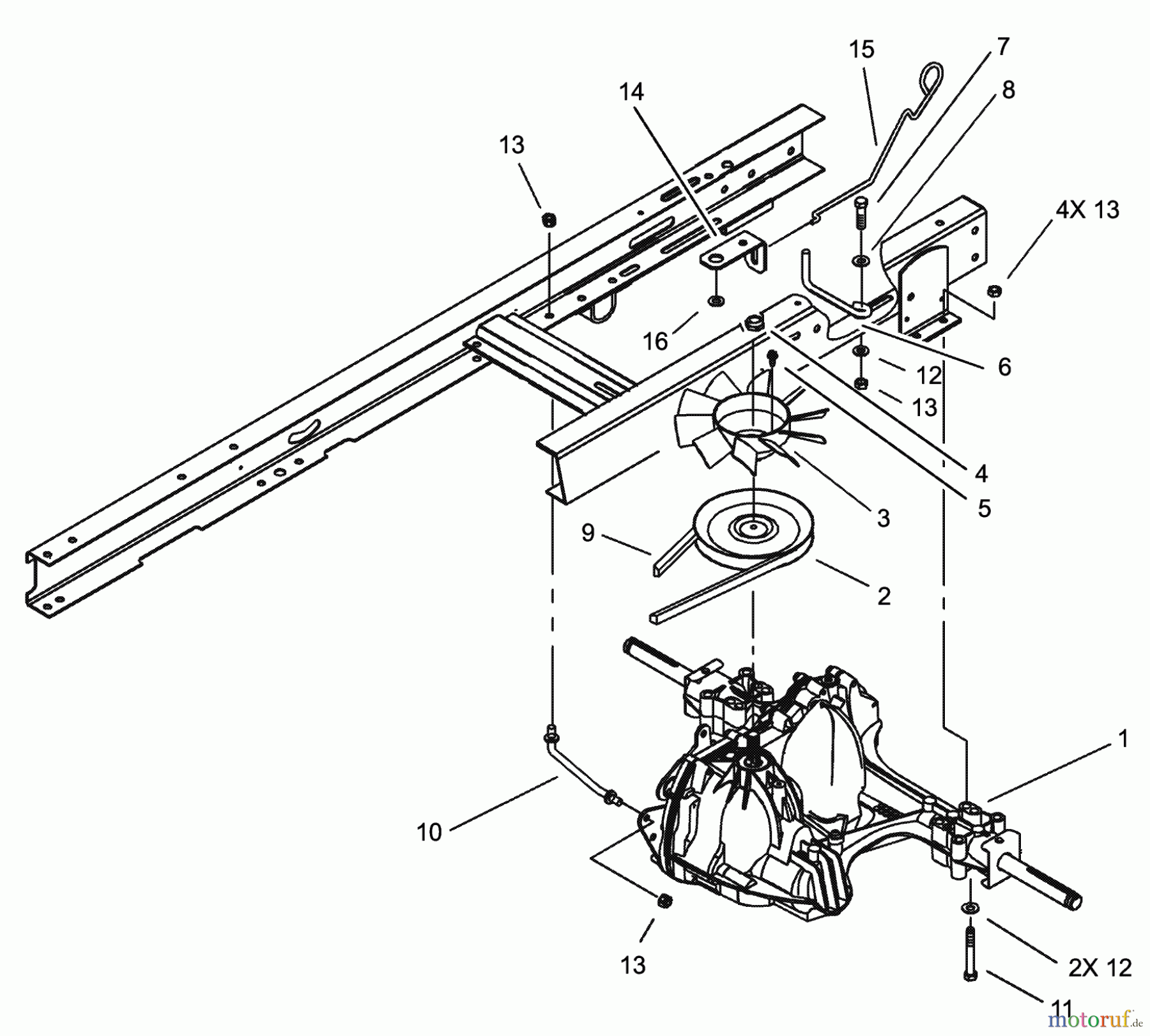
Hier finden Sie die Ersatzteilzeichnung für Toro Neu Mowers, Lawn & Garden Tractor Seite 1 71283 (17-44HXLE) - Toro 17-44HXLE Lawn Tractor, 2002 (220010001-220999999) HYDRO TRANSAXLE ASSEMBLY. Wählen Sie das benötigte Ersatzteil aus der Ersatzteilliste Ihres Toro Gerätes aus und bestellen Sie einfach online. Viele Toro Ersatzteile halten wir ständig in unserem Lager für Sie bereit.


Qualitätsmanagement
 Informieren Sie uns, wenn Sie einen Fehler gefunden haben.



