Toro 57360 (11-32) - 11-32 Lawn Tractor, 1981 (1000001-1999999) BRIGGS & STRATTON MODEL 191707-5641-01 (MODEL 57300) #2 Ersatzteile
BRIGGS & STRATTON MODEL 191707-5641-01 (MODEL 57300) #2 57360 (11-32) - Toro 11-32 Lawn Tractor, 1981 (1000001-1999999)

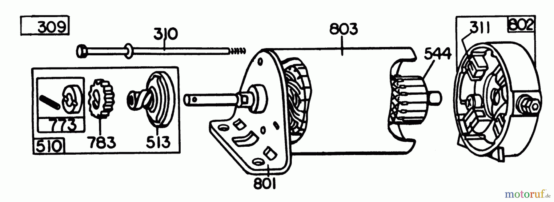
Hier finden Sie die Ersatzteilzeichnung für Toro Neu Mowers, Lawn & Garden Tractor Seite 1 57360 (11-32) - Toro 11-32 Lawn Tractor, 1981 (1000001-1999999) BRIGGS & STRATTON MODEL 191707-5641-01 (MODEL 57300) #2. Wählen Sie das benötigte Ersatzteil aus der Ersatzteilliste Ihres Toro Gerätes aus und bestellen Sie einfach online. Viele Toro Ersatzteile halten wir ständig in unserem Lager für Sie bereit.
| BildNr | Artikel Nummer | Bezeichnung | |
| 309 | BS392749 | VERWEIS ZU | |
| 310 | BS391706 | ||
| 311 | BS391705 | BUERSTEN | |
| 510 | BS696535 | ANTRIEB | |
| 513 | BS398003 | VERWEIS ZU | |
| 544 | BS390837 | ANKER 392747 | |
| 773 | BS391462 | HALTER | |
| 783 | BS280104S | VERWEIS ZU | |
| 801 | BS392061 | VERWEIS ZU | |
| 802 | BS390846 | ||
| 803 | BS394805 | VERWEIS ZU | |


Qualitätsmanagement
Informieren Sie uns, wenn Sie einen Fehler gefunden haben.

