Toro 5-0201 - 32" Side Discharge Mower, 1970 8.000 BODY AND COVER PLATES Ersatzteile
8.000 BODY AND COVER PLATES 5-0201 - Toro 32" Side Discharge Mower, 1970

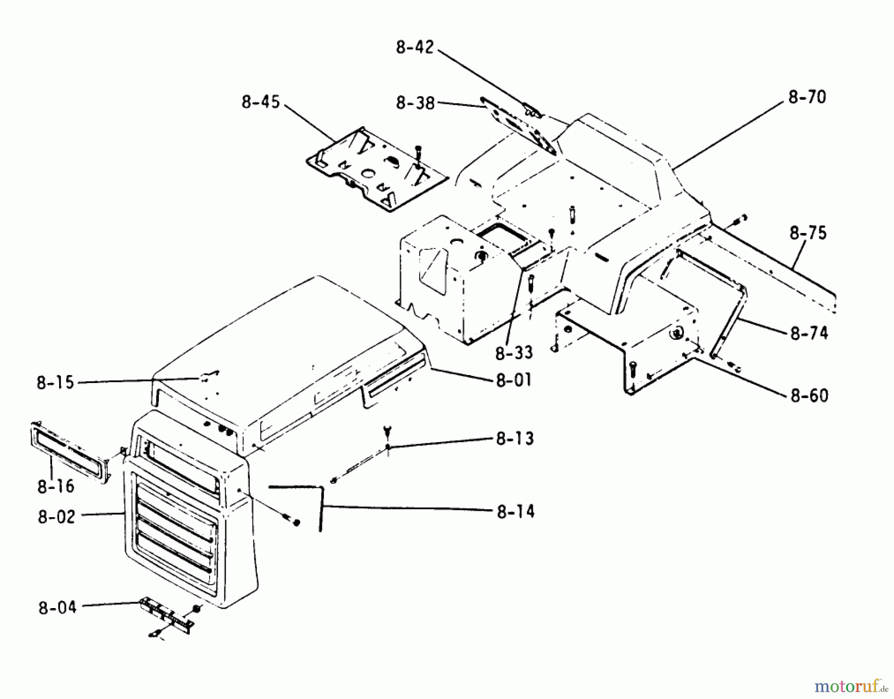
Hier finden Sie die Ersatzteilzeichnung für Toro Neu Mowers, Lawn & Garden Tractor Seite 1 5-0201 - Toro 32" Side Discharge Mower, 1970 8.000 BODY AND COVER PLATES. Wählen Sie das benötigte Ersatzteil aus der Ersatzteilliste Ihres Toro Gerätes aus und bestellen Sie einfach online. Viele Toro Ersatzteile halten wir ständig in unserem Lager für Sie bereit.
| BildNr | Artikel Nummer | Bezeichnung | |
| 8-01 | TR100628 | DISCONTINUED | |
| TR101444 | DISCONTINUED | ||
| 8-02 | TR8947 | ||
| TR910893-4 | |||
| TR915113-4 | |||
| TR920124-4 | |||
| 8-04 | TR9377 | 742651 | |
| TR910807-4 | |||
| TR5924 | HEX NUT 10-32 E.S. | ||
| 8-13 | TR9597 | DISCONTINUED | |
| TR960163-4 | |||
| 8-14 | TR9460 | DISCONTINUED | |
| 8-15 | TR5438 | ||
| TR5437 | SPEED NUT | ||
| 8-16 | TR7416 | ESCUTCHEON PLATE | |
| TR7721 | Blechmutter pck (20) | ||
| 8-33 | TR103101 | DISCONTINUED | |
| TR100609 | DISCONTINUED | ||
| 8-38 | TR103035 | ||
| TR103034 | DISCONTINUED | ||
| 8-42 | TR7415 | DISCONTINUE | |
| TR7476 | DISCONTINUED | ||
| 8-45 | TR100483 | DISCONTINUED | |
| 8-60 | TR8944 | ||
| TR908016-4 | |||
| 8-70 | TR8945 | ||
| TR910364-4 | |||
| TR3217-6 | NUT-HEX | ||
| 8-74 | TR9096 | ||
| TR903016-4 | |||
| TR102673 | |||
| 8-75 | TR100044 | ||
| TR102719 | |||
| TR910864-4 | |||
| 8-91-A | TR102718 | DISCONTINUED | |



