Toro 14AK81RK544 (GT2300) - GT2300 Garden Tractor, 2006 (1A186H30000-) FUEL SYSTEM ASSEMBLY KOHLER SV735-0011 Ersatzteile
FUEL SYSTEM ASSEMBLY KOHLER SV735-0011 14AK81RK544 (GT2300) - Toro GT2300 Garden Tractor, 2006 (1A186H30000-)

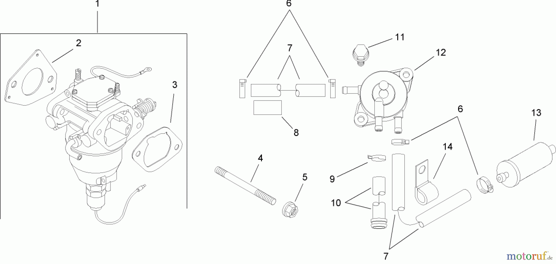
Hier finden Sie die Ersatzteilzeichnung für Toro Neu Mowers, Lawn & Garden Tractor Seite 1 14AK81RK544 (GT2300) - Toro GT2300 Garden Tractor, 2006 (1A186H30000-) FUEL SYSTEM ASSEMBLY KOHLER SV735-0011. Wählen Sie das benötigte Ersatzteil aus der Ersatzteilliste Ihres Toro Gerätes aus und bestellen Sie einfach online. Viele Toro Ersatzteile halten wir ständig in unserem Lager für Sie bereit.



