Toro 13AX61RH544 (LX465) - LX465 Lawn Tractor, 2007 (SN 1A117H10393-) SINGLE PULLEY SPINDLE ASSEMBLY NO. 112-0311 Ersatzteile
SINGLE PULLEY SPINDLE ASSEMBLY NO. 112-0311 13AX61RH544 (LX465) - Toro LX465 Lawn Tractor, 2007 (SN 1A117H10393-)

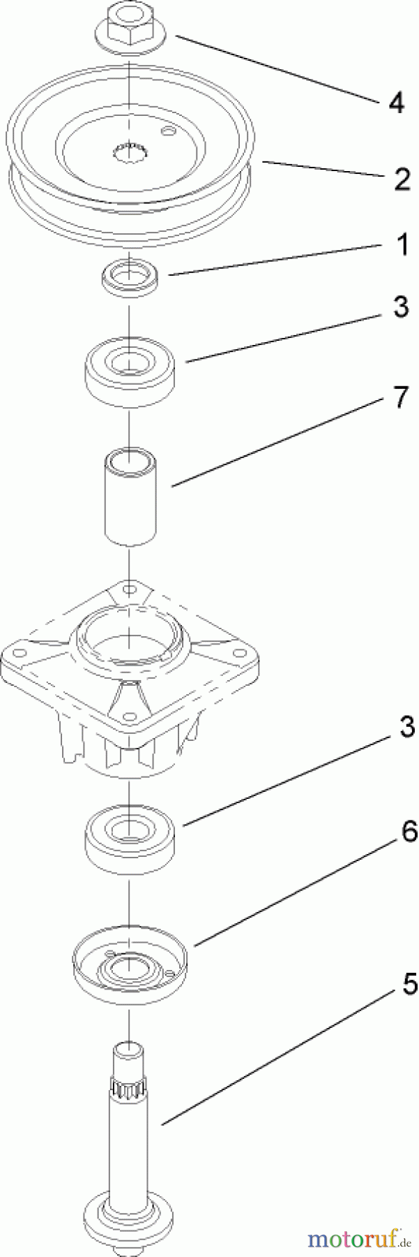
Hier finden Sie die Ersatzteilzeichnung für Toro Neu Mowers, Lawn & Garden Tractor Seite 1 13AX61RH544 (LX465) - Toro LX465 Lawn Tractor, 2007 (SN 1A117H10393-) SINGLE PULLEY SPINDLE ASSEMBLY NO. 112-0311. Wählen Sie das benötigte Ersatzteil aus der Ersatzteilliste Ihres Toro Gerätes aus und bestellen Sie einfach online. Viele Toro Ersatzteile halten wir ständig in unserem Lager für Sie bereit.
| BildNr | Artikel Nummer | Bezeichnung | |
| 1 | TR112-0600 | SPACER | |
| 2 | TR112-0358 | PULLEY-DECK | |
| 3 | TR112-0377 | BEARING-BALL | |
| 4 | TR112-0330 | NUT-LOCK, FLANGE | |
| 5 | TR112-5922 | SHAFT-SPINDLE | |
| 6 | TR112-5923 | BEARING-SHOULDER | |
| 7 | TR112-0654 | SPACER | |


Qualitätsmanagement
Informieren Sie uns, wenn Sie einen Fehler gefunden haben.

