Toro 1-0481 (C-160) - C-160 Automatic Tractor, 1975 7.000 HITCH ASSEMBLIES (FIG. 7A) Ersatzteile
7.000 HITCH ASSEMBLIES (FIG. 7A) 1-0481 (C-160) - Toro C-160 Automatic Tractor, 1975

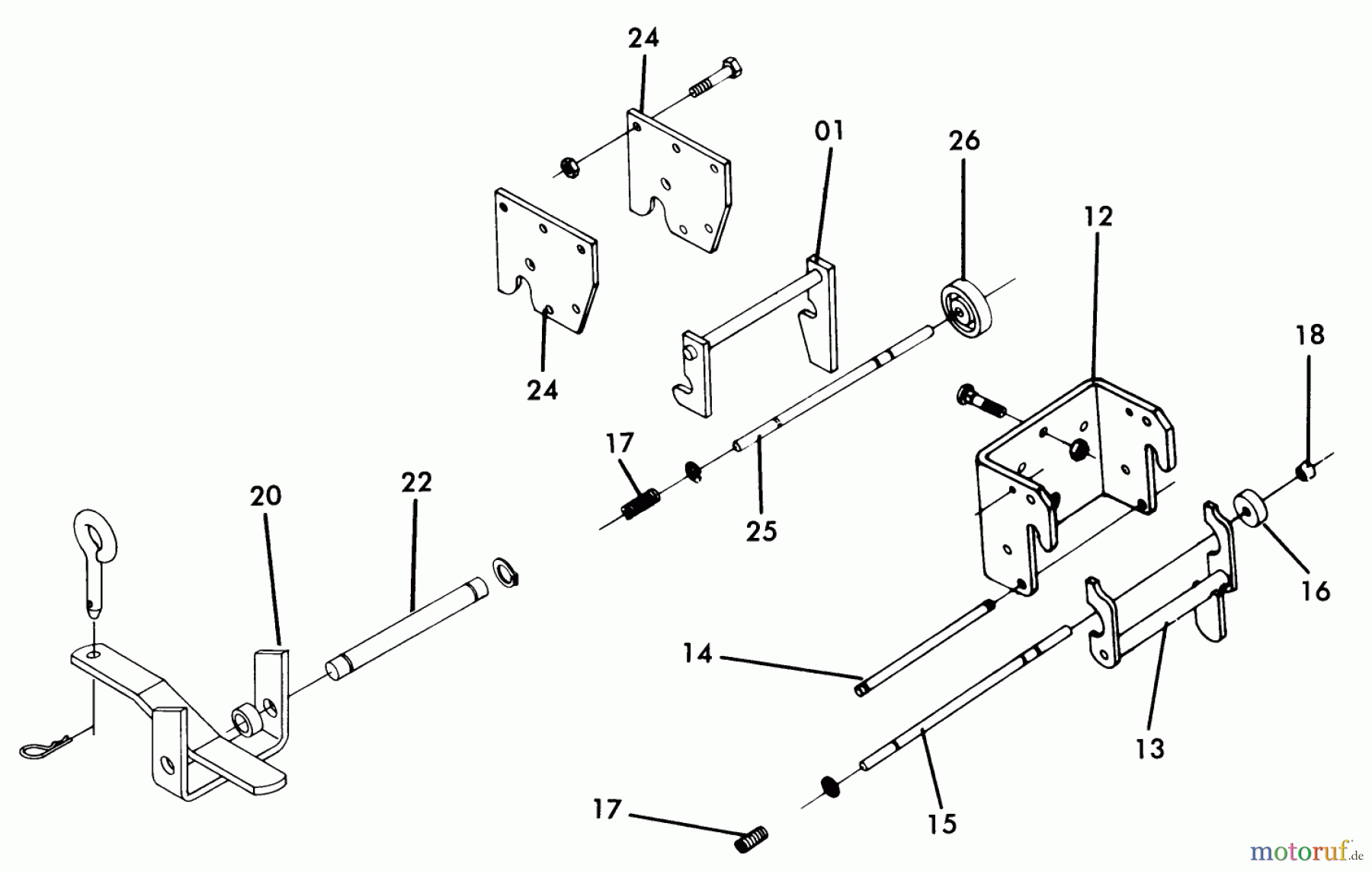
Hier finden Sie die Ersatzteilzeichnung für Toro Neu Mowers, Lawn & Garden Tractor Seite 1 1-0481 (C-160) - Toro C-160 Automatic Tractor, 1975 7.000 HITCH ASSEMBLIES (FIG. 7A). Wählen Sie das benötigte Ersatzteil aus der Ersatzteilliste Ihres Toro Gerätes aus und bestellen Sie einfach online. Viele Toro Ersatzteile halten wir ständig in unserem Lager für Sie bereit.
| BildNr | Artikel Nummer | Bezeichnung | |
| 01 | TR102639-01 | DISCONTINUED | |
| 12 | TR101711-01 | HITCH-FRONT | |
| 13 | TR93-1613 | LATCH | |
| 14 | TR101750 | Bolzen | |
| 14 | TR105797 | Sicherungsring (10) | |
| 15 | TR101751 | Bolzen | |
| 15 | TRMW4564 | 105797 | |
| 16 | TR101707 | LOCK | |
| 17 | TR8616 | Feder | |
| 18 | TR105316 | Kappe (5) | |
| 20 | TR98-8083-01 | HITCH ASM | |
| 22 | TR105269 | Bolzen | |
| 22 | TR9791204 | SPACER | |
| 22 | TR32120-72 | RING | |
| 22 | TR106634 | Bolzen | |
| 22 | TR933505 | FEDERSTECKER (10) | |
| 24 | TR102644-01 | PLATE-HITCH | |
| 25 | TR102672 | DUP PART SEE $BOOK | |
| 25 | TRMW4564 | 105797 | |
| 26 | TR101017 | Scheibe | |
| 26 | TR323-6 | Schraube | |
| 26 | ![]() | TR32153-2 | NUT-LOCK, SIDE |




