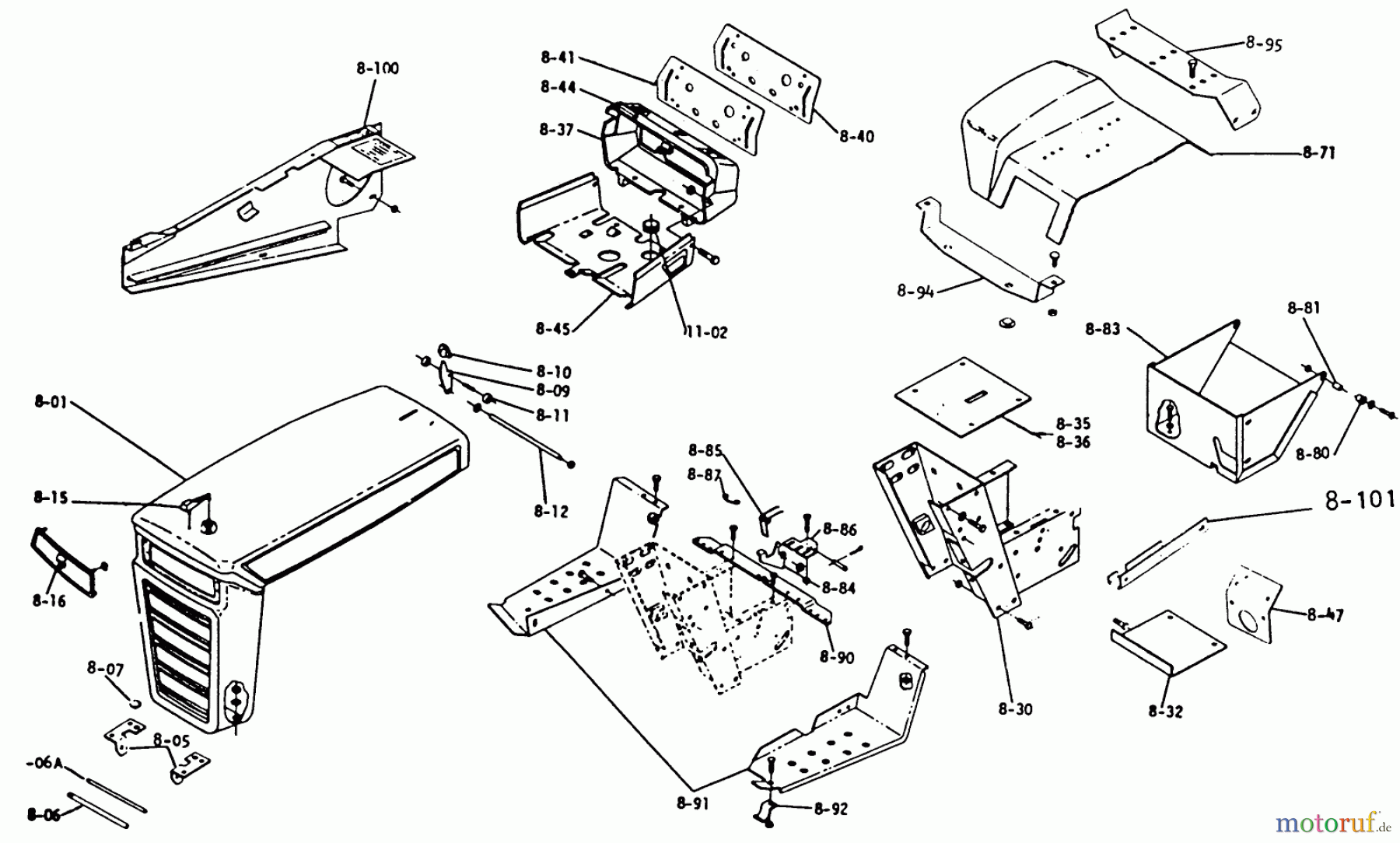
Toro 1-0430 - 14 hp Automatic Tractor, 1973 PARTS LIST FOR 8.000 SHEET METAL AND COVERS (PLATE 8.2) Ersatzteile
PARTS LIST FOR 8.000 SHEET METAL AND COVERS (PLATE 8.2) 1-0430 - Toro 14 hp Automatic Tractor, 1973

Hier finden Sie die Ersatzteilzeichnung für Toro Neu Mowers, Lawn & Garden Tractor Seite 1 1-0430 - Toro 14 hp Automatic Tractor, 1973 PARTS LIST FOR 8.000 SHEET METAL AND COVERS (PLATE 8.2). Wählen Sie das benötigte Ersatzteil aus der Ersatzteilliste Ihres Toro Gerätes aus und bestellen Sie einfach online. Viele Toro Ersatzteile halten wir ständig in unserem Lager für Sie bereit.


Qualitätsmanagement
Informieren Sie uns, wenn Sie einen Fehler gefunden haben.



