Toro 30117 - Mid-Size Proline Gear Traction Unit, 16 hp, 1991 (1000001-1999999) GOVERNOR-ENGINE KOHLER MODEL NO. MV16S-TYPE 56511 Ersatzteile
GOVERNOR-ENGINE KOHLER MODEL NO. MV16S-TYPE 56511 30117 - Toro Mid-Size Proline Gear Traction Unit, 16 hp, 1991 (1000001-1999999)

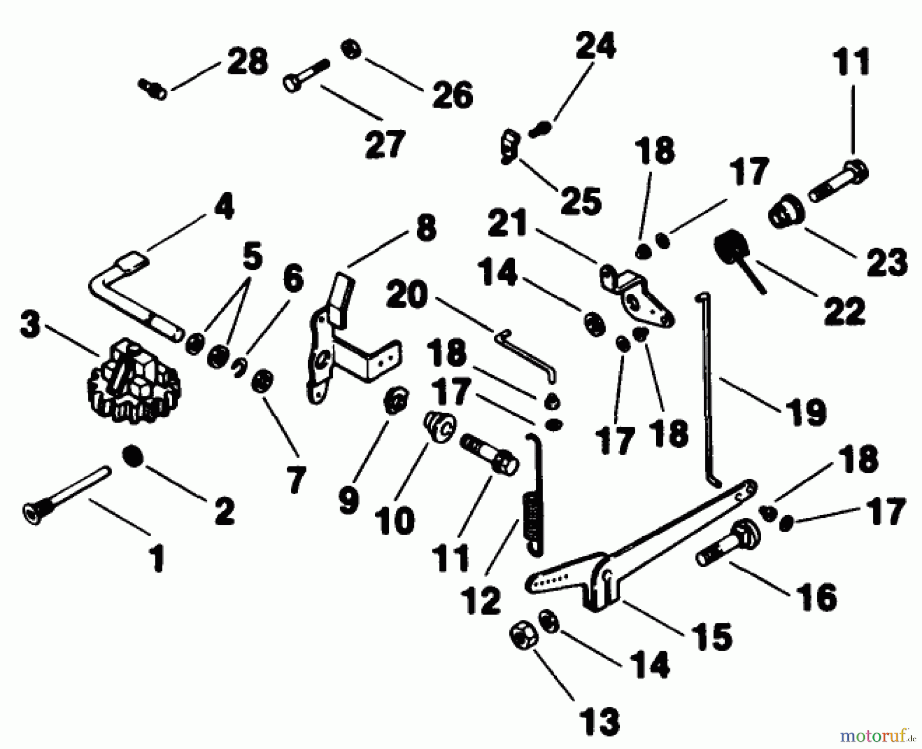
Hier finden Sie die Ersatzteilzeichnung für Toro Neu Mowers, Drive Unit Only 30117 - Toro Mid-Size Proline Gear Traction Unit, 16 hp, 1991 (1000001-1999999) GOVERNOR-ENGINE KOHLER MODEL NO. MV16S-TYPE 56511. Wählen Sie das benötigte Ersatzteil aus der Ersatzteilliste Ihres Toro Gerätes aus und bestellen Sie einfach online. Viele Toro Ersatzteile halten wir ständig in unserem Lager für Sie bereit.



