Toro 30108 - Mid-Size Proline Gear Traction Unit, 8 hp, 1984 (4000001-4999999) DRIVE SPINDLE NO. 51-3540 Ersatzteile
DRIVE SPINDLE NO. 51-3540 30108 - Toro Mid-Size Proline Gear Traction Unit, 8 hp, 1984 (4000001-4999999)

Hier finden Sie die Ersatzteilzeichnung für Toro Neu Mowers, Drive Unit Only 30108 - Toro Mid-Size Proline Gear Traction Unit, 8 hp, 1984 (4000001-4999999) DRIVE SPINDLE NO. 51-3540. Wählen Sie das benötigte Ersatzteil aus der Ersatzteilliste Ihres Toro Gerätes aus und bestellen Sie einfach online. Viele Toro Ersatzteile halten wir ständig in unserem Lager für Sie bereit.
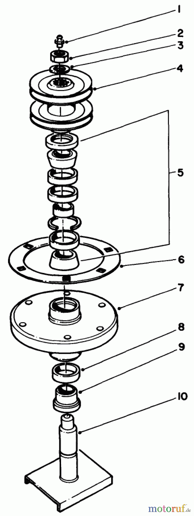
| BildNr | Artikel Nummer | Bezeichnung | |
| 1 | TR302-2 | Fettnippel | |
| 2 | TR32146-20 | Mutter | |
| 3 | TR7-4150 | WASHER | |
| 4 | TR51-3580 | PULLEY ASSEMBLY | |
| 5 | TR46-8530 | BEARING ASM | |
| 6 | TR27-7680-03 | Ring | |
| 7 | TR61-4160 | HOUSING-SPINDLE | |
| 8 | TR253-139 | SEAL-OIL | |
| 9 | TR27-0950 | Lagerbuechse | |
| 10 | TR51-3550 | Welle | |



