Toro 78230 - 42" Side Discharge Mower, 260 Series Yard Tractors, 1994 (4900001-4999999) SPINDLE ASSEMBLY Ersatzteile
SPINDLE ASSEMBLY 78230 - Toro 42" Side Discharge Mower, 260 Series Yard Tractors, 1994 (4900001-4999999)

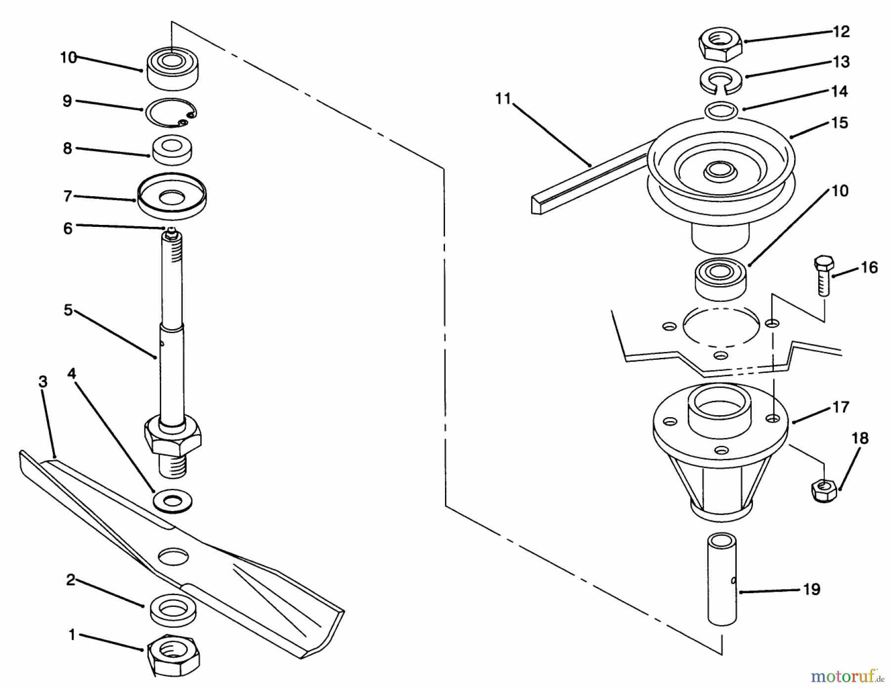
Hier finden Sie die Ersatzteilzeichnung für Toro Neu Mowers, Deck Assembly Only 78230 - Toro 42" Side Discharge Mower, 260 Series Yard Tractors, 1994 (4900001-4999999) SPINDLE ASSEMBLY. Wählen Sie das benötigte Ersatzteil aus der Ersatzteilliste Ihres Toro Gerätes aus und bestellen Sie einfach online. Viele Toro Ersatzteile halten wir ständig in unserem Lager für Sie bereit.


Qualitätsmanagement
Informieren Sie uns, wenn Sie einen Fehler gefunden haben.



